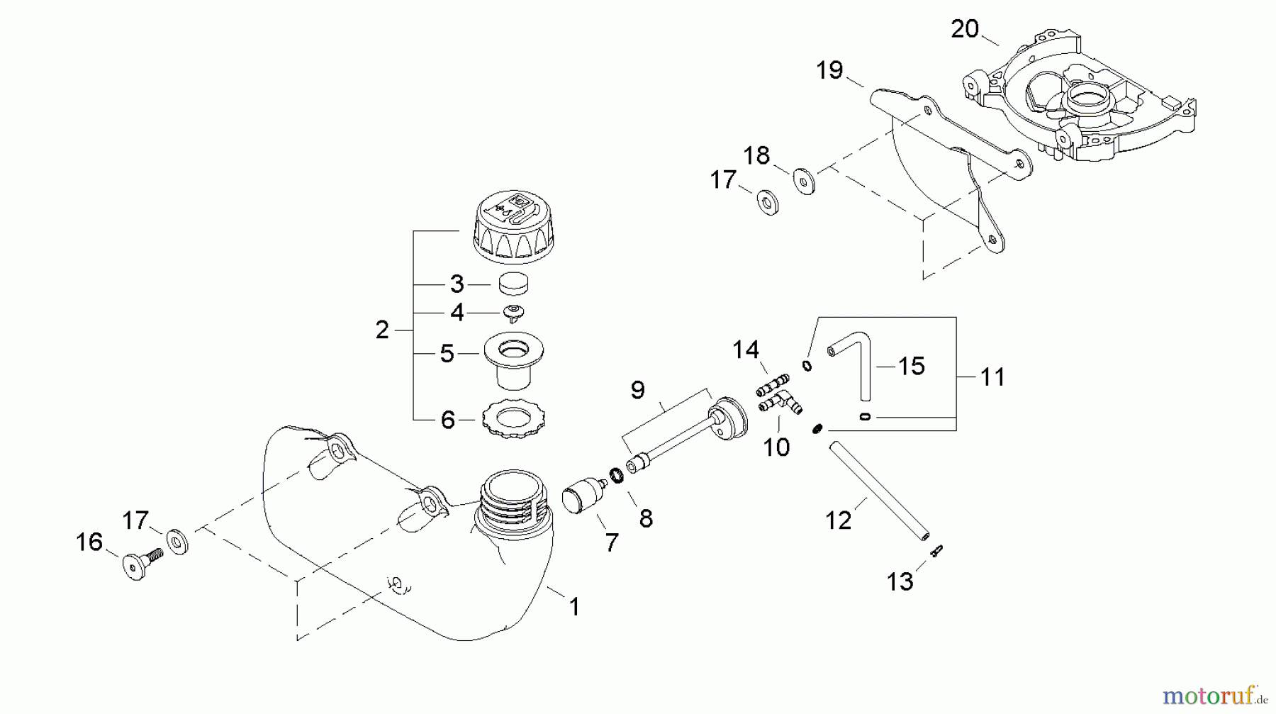
Shindaiwa HT231 - Hedge Trimmer, Single-Sided, S/N: T08412001001 - T084129999 Fuel Tank Ersatzteile
Fuel Tank HT231 - Shindaiwa Hedge Trimmer, Single-Sided, S/N: T08412001001 - T084129999

Hier finden Sie die Ersatzteilzeichnung für Shindaiwa Heckenscheren HT231 - Shindaiwa Hedge Trimmer, Single-Sided, S/N: T08412001001 - T084129999 Fuel Tank. Wählen Sie das benötigte Ersatzteil aus der Ersatzteilliste Ihres Shindaiwa Gerätes aus und bestellen Sie einfach online. Viele Shindaiwa Ersatzteile halten wir ständig in unserem Lager für Sie bereit.




