Shindaiwa EB802 - Back Pack Blower Piston Ersatzteile
Piston EB802 - Shindaiwa Back Pack Blower

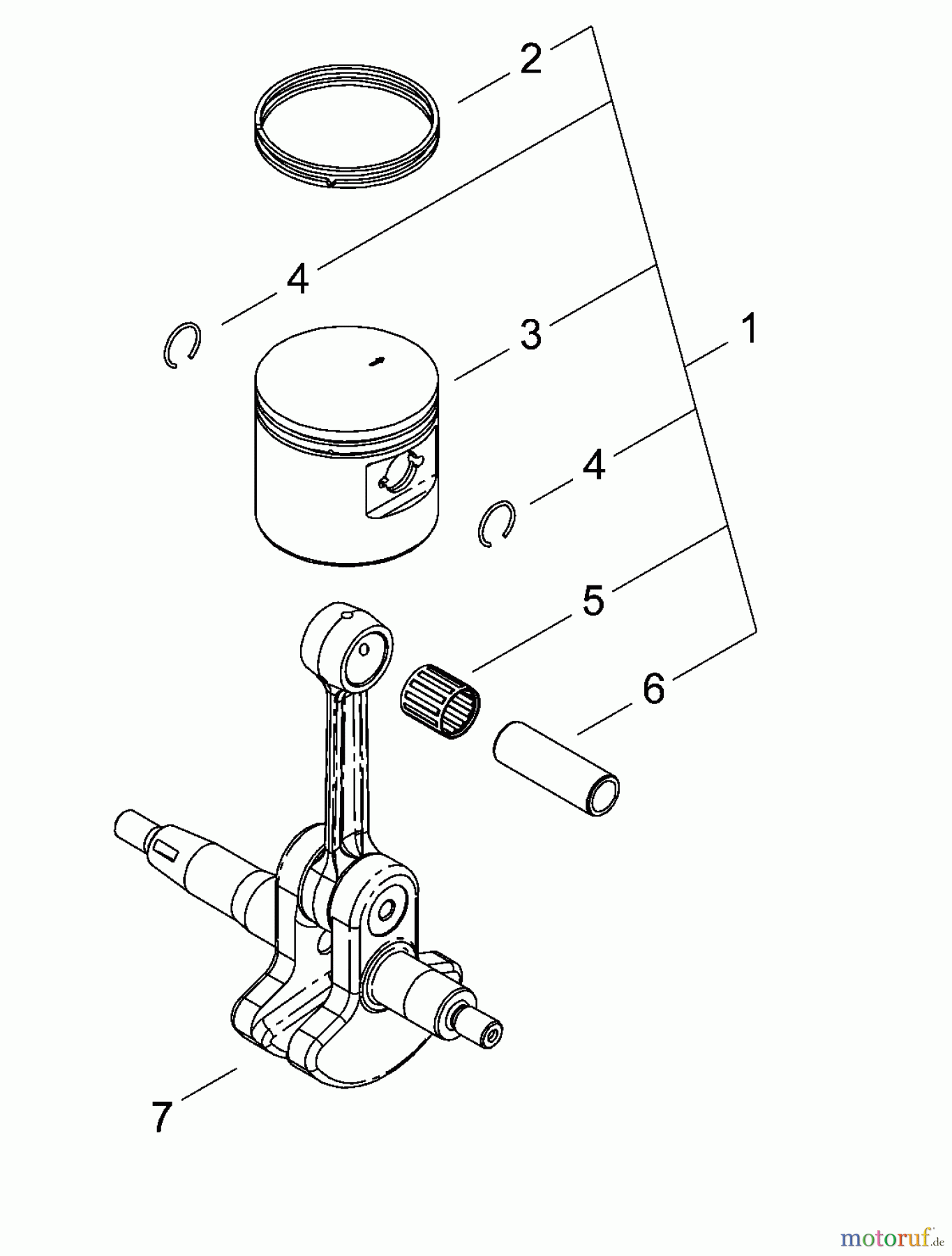
Hier finden Sie die Ersatzteilzeichnung für Shindaiwa Bläser / Sauger / Häcksler / Mulchgeräte EB802 - Shindaiwa Back Pack Blower Piston. Wählen Sie das benötigte Ersatzteil aus der Ersatzteilliste Ihres Shindaiwa Gerätes aus und bestellen Sie einfach online. Viele Shindaiwa Ersatzteile halten wir ständig in unserem Lager für Sie bereit.
| BildNr | Artikel Nummer | Bezeichnung | |
| 1 | 16-P021029410 | ||
| 2 | 16-A101000270 | ||
| 3 | 16-A100000510 | ||
| 4 | 16-V580-000060 | Sicherungsring EC-7600 | |
| 5 | 16-V557-000030 | Nadellager EC-7600 | |
| 6 | 16-V610-000010 | Kolbenbolzen EC-7600 | |
| 7 | 16-A011000680 | ||


Qualitätsmanagement
Informieren Sie uns, wenn Sie einen Fehler gefunden haben.

