Shindaiwa EB344 - Hand Held Blower, S/N: T15813001001 Service Tool Kit Ersatzteile
Service Tool Kit EB344 - Shindaiwa Hand Held Blower, S/N: T15813001001

Hier finden Sie die Ersatzteilzeichnung für Shindaiwa Bläser / Sauger / Häcksler / Mulchgeräte EB344 - Shindaiwa Hand Held Blower, S/N: T15813001001 Service Tool Kit. Wählen Sie das benötigte Ersatzteil aus der Ersatzteilliste Ihres Shindaiwa Gerätes aus und bestellen Sie einfach online. Viele Shindaiwa Ersatzteile halten wir ständig in unserem Lager für Sie bereit.
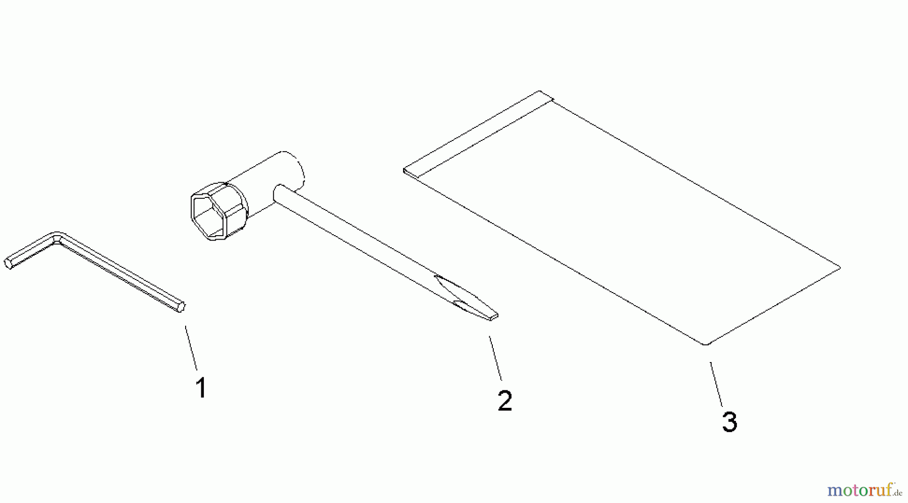
| BildNr | Artikel Nummer | Bezeichnung | |
| 1 | 16-X605-000100 | Innensechskantschlüssel 452GS/DH2200ST/ | |
| 2 | 16-X602-000100 | Stopfenschlüssel EB-2510 | |
| 3 | 16-X705-000100 | Werkzeugtasche DH2200ST | |



