Shindaiwa EB254 - Hand Held Blower, S/N: T11013001001 - T11013999999 Service Tool Kit Ersatzteile
Service Tool Kit EB254 - Shindaiwa Hand Held Blower, S/N: T11013001001 - T11013999999

Hier finden Sie die Ersatzteilzeichnung für Shindaiwa Bläser / Sauger / Häcksler / Mulchgeräte EB254 - Shindaiwa Hand Held Blower, S/N: T11013001001 - T11013999999 Service Tool Kit. Wählen Sie das benötigte Ersatzteil aus der Ersatzteilliste Ihres Shindaiwa Gerätes aus und bestellen Sie einfach online. Viele Shindaiwa Ersatzteile halten wir ständig in unserem Lager für Sie bereit.
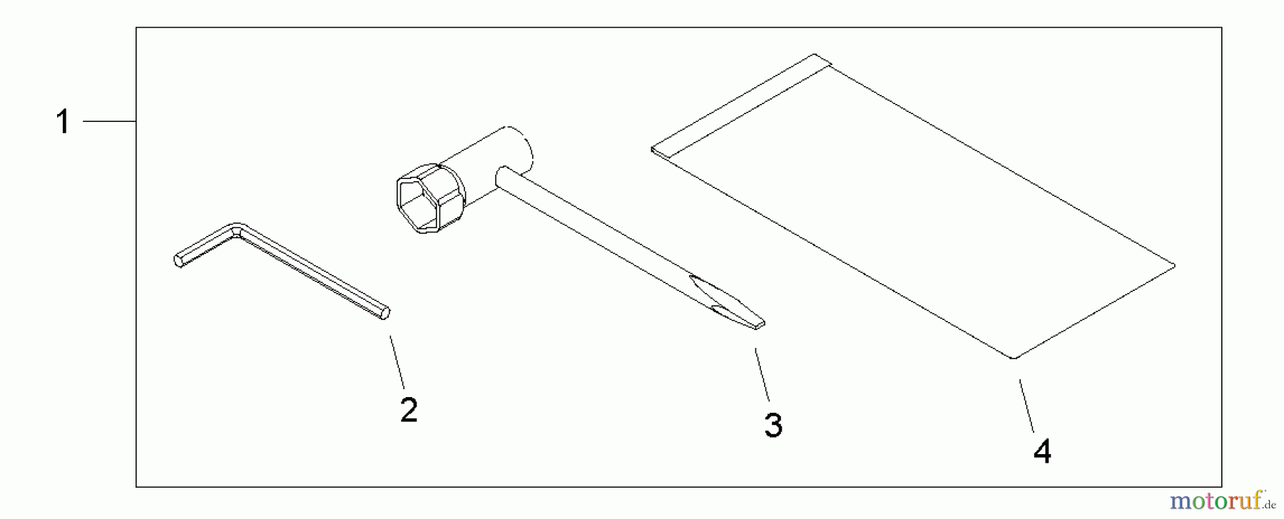
| BildNr | Artikel Nummer | Bezeichnung | |
| 1 | 16-6890292310 | ||
| 2 | 16-X605-000100 | Innensechskantschlüssel 452GS/DH2200ST/ | |
| 3 | 16-X602-000100 | Stopfenschlüssel EB-2510 | |
| 4 | 16-X705-000100 | Werkzeugtasche DH2200ST | |


Qualitätsmanagement
Informieren Sie uns, wenn Sie einen Fehler gefunden haben.

