Shindaiwa EB240S - Hand Held Blower Cylinder, Muffler Ersatzteile
Cylinder, Muffler EB240S - Shindaiwa Hand Held Blower

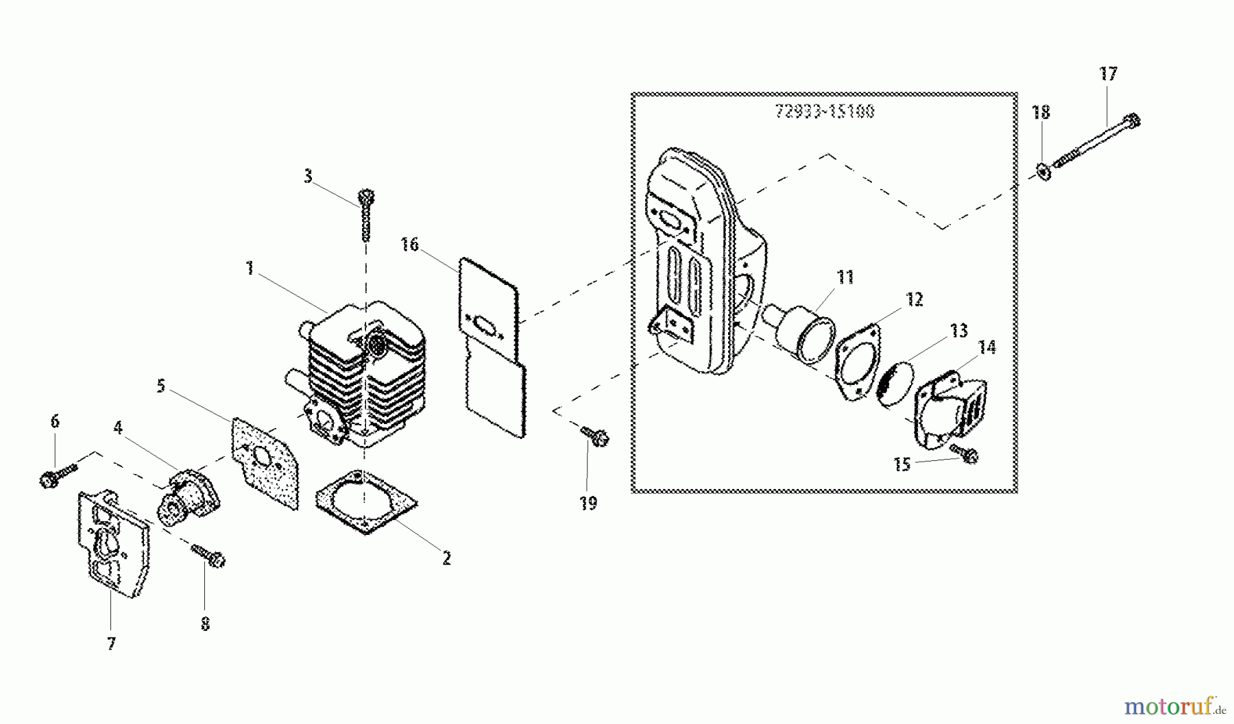
Hier finden Sie die Ersatzteilzeichnung für Shindaiwa Bläser / Sauger / Häcksler / Mulchgeräte EB240S - Shindaiwa Hand Held Blower Cylinder, Muffler. Wählen Sie das benötigte Ersatzteil aus der Ersatzteilliste Ihres Shindaiwa Gerätes aus und bestellen Sie einfach online. Viele Shindaiwa Ersatzteile halten wir ständig in unserem Lager für Sie bereit.


Qualitätsmanagement
Informieren Sie uns, wenn Sie einen Fehler gefunden haben.

