Poulan / Weed Eater WildThing - Weed Eater String Trimmer Carburetor Assembly Ersatzteile
Carburetor Assembly WildThing - Weed Eater String Trimmer

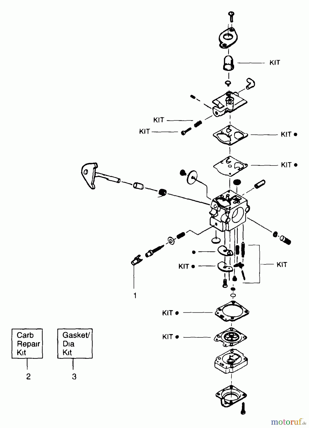
Hier finden Sie die Ersatzteilzeichnung für Poulan / Weed Eater Motorsensen, Trimmer WildThing - Weed Eater String Trimmer Carburetor Assembly. Wählen Sie das benötigte Ersatzteil aus der Ersatzteilliste Ihres Poulan / Weed Eater Gerätes aus und bestellen Sie einfach online. Viele Poulan / Weed Eater Ersatzteile halten wir ständig in unserem Lager für Sie bereit.
| BildNr | Artikel Nummer | Bezeichnung | |
| 530 06 97-54 | VERGASER KPL. | ||
| 1 | 530 03 84-04 | SCHUTZ | |
| 2 | 530 06 98-38 | REPARATURSATZ | |
| 3 | ![]() | 530 06 98-44 | DICHTUNGSSATZ |




