Poulan / Weed Eater PP115 - Poulan Pro String Trimmer CARBURETORS WT-245 & WT-299 BREAKDOWN Ersatzteile
CARBURETORS WT-245 & WT-299 BREAKDOWN PP115 - Poulan Pro String Trimmer

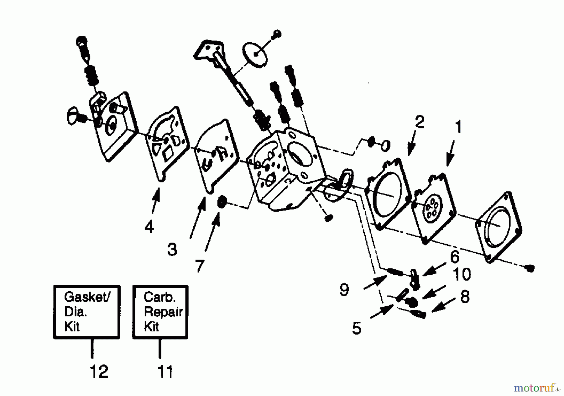
Hier finden Sie die Ersatzteilzeichnung für Poulan / Weed Eater Motorsensen, Trimmer PP115 - Poulan Pro String Trimmer CARBURETORS WT-245 & WT-299 BREAKDOWN. Wählen Sie das benötigte Ersatzteil aus der Ersatzteilliste Ihres Poulan / Weed Eater Gerätes aus und bestellen Sie einfach online. Viele Poulan / Weed Eater Ersatzteile halten wir ständig in unserem Lager für Sie bereit.


Qualitätsmanagement
 Informieren Sie uns, wenn Sie einen Fehler gefunden haben.



