Poulan / Weed Eater GTI16 SUPER - Weed Eater String Trimmer CARBURETORS WA-219B, WA-217 Ersatzteile
CARBURETORS WA-219B, WA-217 GTI16 SUPER - Weed Eater String Trimmer

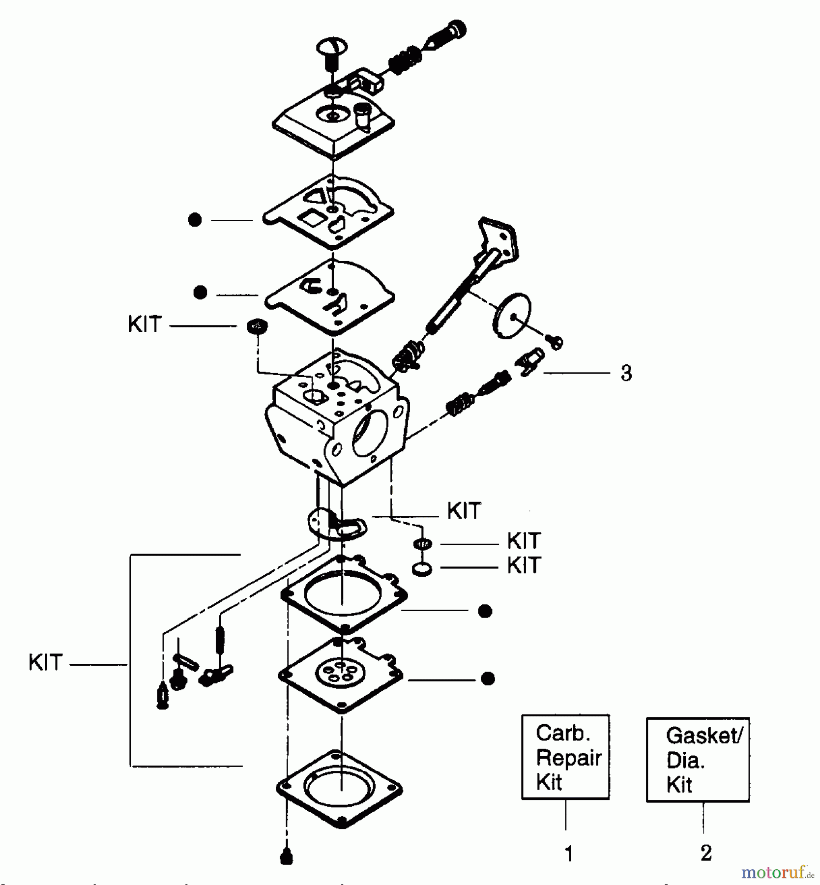
Hier finden Sie die Ersatzteilzeichnung für Poulan / Weed Eater Motorsensen, Trimmer GTI16 SUPER - Weed Eater String Trimmer CARBURETORS WA-219B, WA-217. Wählen Sie das benötigte Ersatzteil aus der Ersatzteilliste Ihres Poulan / Weed Eater Gerätes aus und bestellen Sie einfach online. Viele Poulan / Weed Eater Ersatzteile halten wir ständig in unserem Lager für Sie bereit.
| BildNr | Artikel Nummer | Bezeichnung | |
| 1 | 530 06 98-42 | REPARATURSATZ | |
| 1 | 530069837 | ||
| 2 | 531 00 45-19 | DICHTUNGSSATZ | |
| 2 | ![]() | 530 06 98-44 | DICHTUNGSSATZ |
| 3 | 530 03 84-04 | SCHUTZ | |


Qualitätsmanagement
Informieren Sie uns, wenn Sie einen Fehler gefunden haben.


