Poulan / Weed Eater PP1850ES (96198005502) - Poulan Pro Snow Thrower (2012-08) HANDLE #3 Ersatzteile
HANDLE #3 PP1850ES (96198005502) - Poulan Pro Snow Thrower (2012-08)

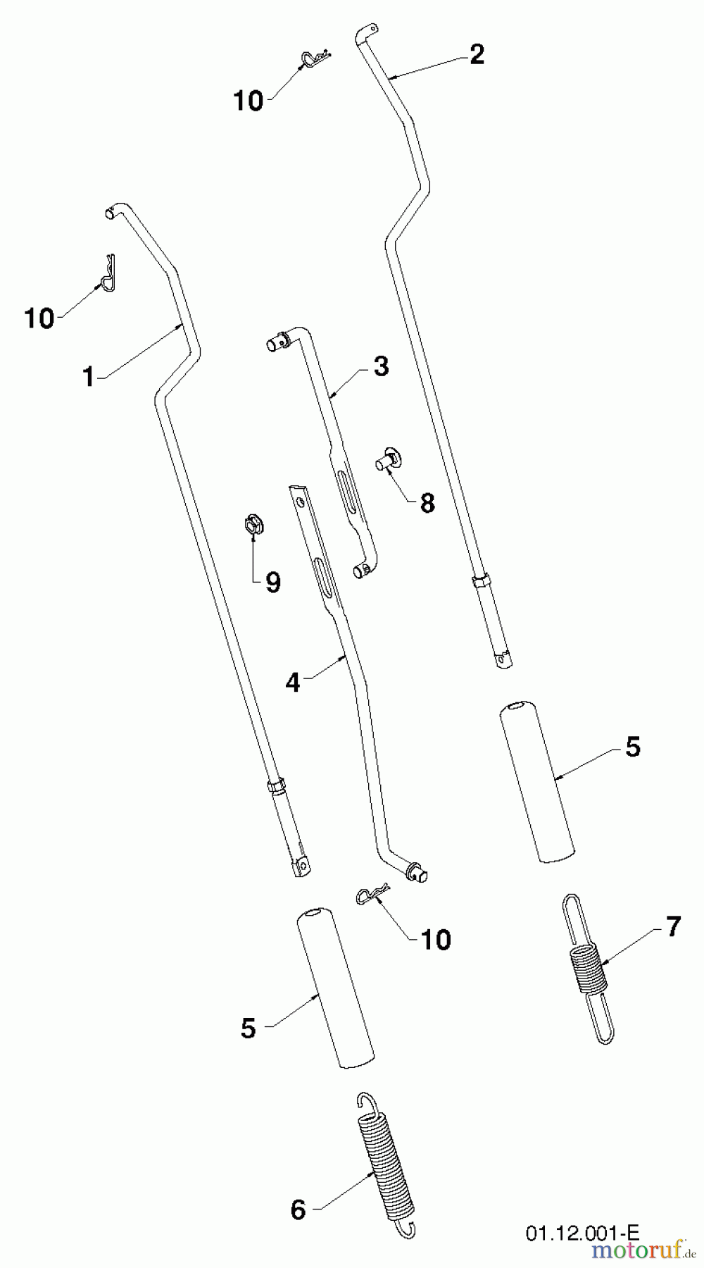
Hier finden Sie die Ersatzteilzeichnung für Poulan / Weed Eater Schneefräsen PP1850ES (96198005502) - Poulan Pro Snow Thrower (2012-08) HANDLE #3. Wählen Sie das benötigte Ersatzteil aus der Ersatzteilliste Ihres Poulan / Weed Eater Gerätes aus und bestellen Sie einfach online. Viele Poulan / Weed Eater Ersatzteile halten wir ständig in unserem Lager für Sie bereit.
| BildNr | Artikel Nummer | Bezeichnung | |
| 1 | 580 79 77-01 | Stange | |
| 2 | 580 79 79-01 | Stange | |
| 3 | 532 18 04-45 | ARM | |
| 4 | 532 18 77-16 | ARM | |
| 5 | 532 18 04-47 | HÜLSE | |
| 6 | 580 79 62-01 | Feder | |
| 7 | 580 80 21-01 | Feder | |
| 8 | 872 27 05-05 | BOLT, CARRIAGE 5/16-1 8 | |
| 9 | 532 15 53-77 | MUTTER | |
| 10 | 532 16 96-75 | Stift | |



