Poulan / Weed Eater 4400 - Poulan Chainsaw CHAIN BRAKE ASSEMBLY - NEW STYLE Ersatzteile
CHAIN BRAKE ASSEMBLY - NEW STYLE 4400 - Poulan Chainsaw

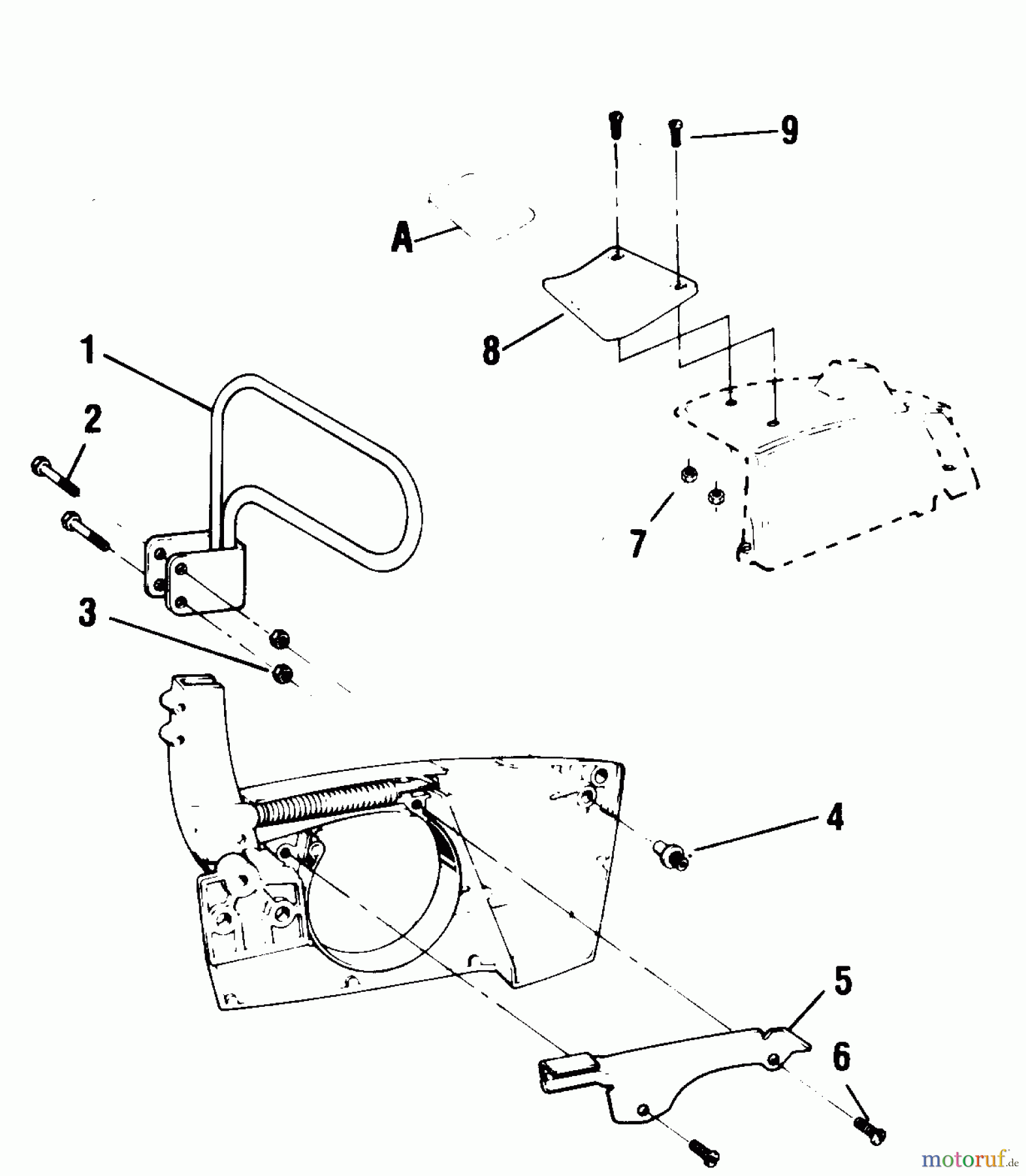
Hier finden Sie die Ersatzteilzeichnung für Poulan / Weed Eater Motorsägen 4400 - Poulan Chainsaw CHAIN BRAKE ASSEMBLY - NEW STYLE. Wählen Sie das benötigte Ersatzteil aus der Ersatzteilliste Ihres Poulan / Weed Eater Gerätes aus und bestellen Sie einfach online. Viele Poulan / Weed Eater Ersatzteile halten wir ständig in unserem Lager für Sie bereit.
| BildNr | Artikel Nummer | Bezeichnung | |
| 1 | |||
| 530025993 | |||
| 530027281 | |||
| 2 | 530 01 51-69 | SCREW | |
| 3 | 530 40 30-94 | MUTTER | |
| 4 | 530015284 | ||
| 5 | 530025959 | ||
| 6 | 530015306 | ||
| 7 | 530 01 52-17 | MUTTER | |
| 8 | 530025914 | ||
| 9 | 530 01 54-06 | SCHRAUBE | |
| 10 | 530 02 37-35 | Führung | |
| A | 530026341 | ||
| 530024222 | |||


Qualitätsmanagement
Informieren Sie uns, wenn Sie einen Fehler gefunden haben.

