Poulan / Weed Eater 358.351082 - Poulan Pro Craftsman Chainsaw Repair Parts Carburetor Ersatzteile
Repair Parts Carburetor 358.351082 - Poulan Pro Craftsman Chainsaw

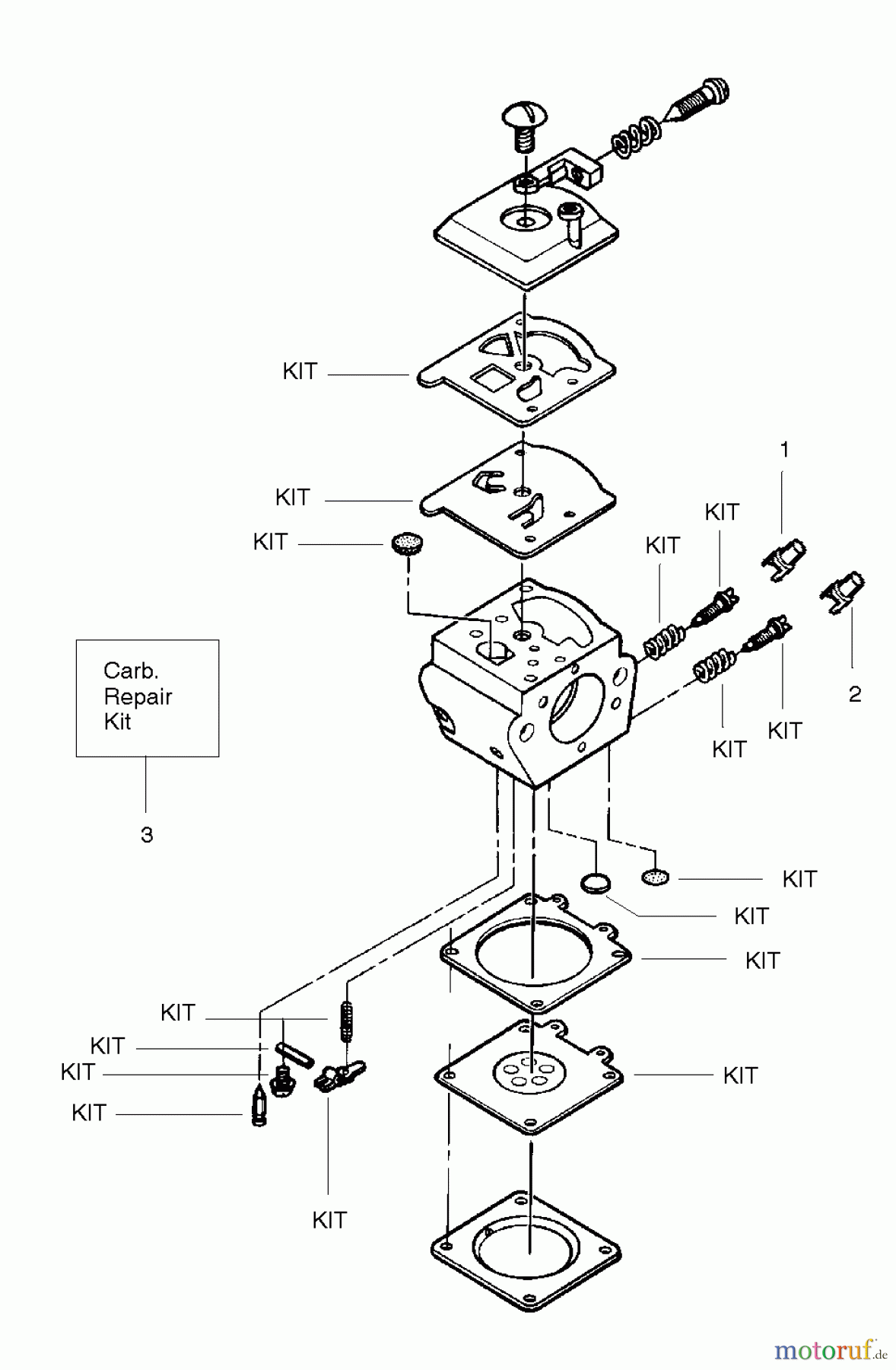
Hier finden Sie die Ersatzteilzeichnung für Poulan / Weed Eater Motorsägen 358.351082 - Poulan Pro Craftsman Chainsaw Repair Parts Carburetor. Wählen Sie das benötigte Ersatzteil aus der Ersatzteilliste Ihres Poulan / Weed Eater Gerätes aus und bestellen Sie einfach online. Viele Poulan / Weed Eater Ersatzteile halten wir ständig in unserem Lager für Sie bereit.
| BildNr | Artikel Nummer | Bezeichnung | |
| 530 07 16-21 | VERGASER | ||
| 1 | 530 03 83-18 | HUELSE | |
| 2 | 530 03 83-17 | HUT | |
| 3 | 530 06 98-26 | REPARATURSATZ | |



