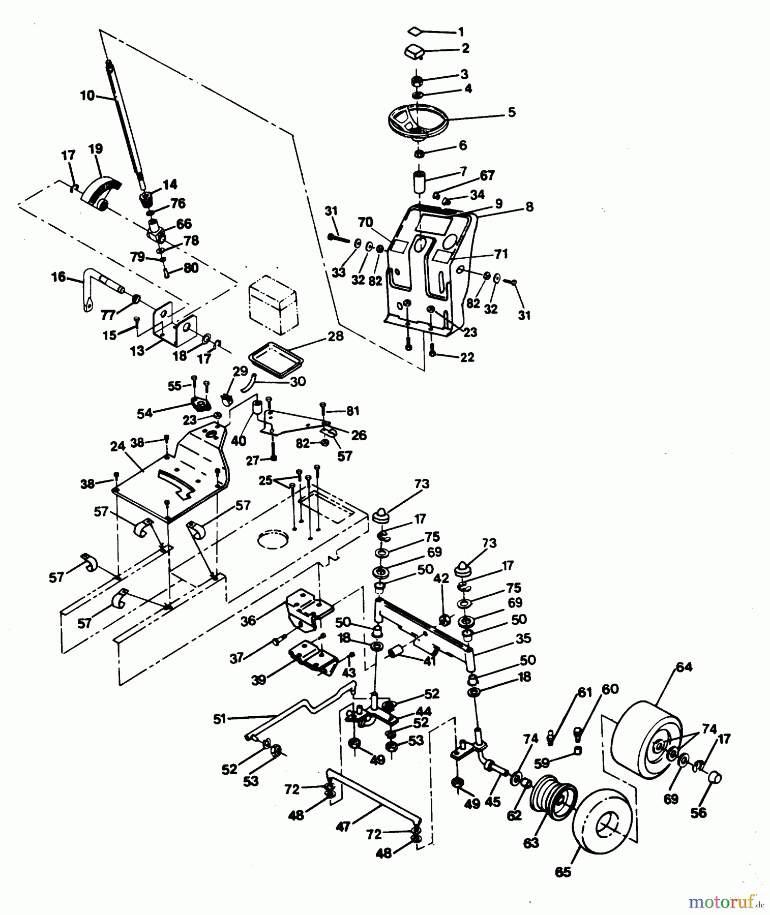
Poulan / Weed Eater XEY1142AR - Poulan Pro Lawn Tractor STEERING ASSEMBLY Ersatzteile
STEERING ASSEMBLY XEY1142AR - Poulan Pro Lawn Tractor

Hier finden Sie die Ersatzteilzeichnung für Poulan / Weed Eater Rasen und Gartentraktoren XEY1142AR - Poulan Pro Lawn Tractor STEERING ASSEMBLY. Wählen Sie das benötigte Ersatzteil aus der Ersatzteilliste Ihres Poulan / Weed Eater Gerätes aus und bestellen Sie einfach online. Viele Poulan / Weed Eater Ersatzteile halten wir ständig in unserem Lager für Sie bereit.













