Poulan / Weed Eater PP1136JA - Poulan Pro Lawn Tractor STEERING WHEEL Ersatzteile
STEERING WHEEL PP1136JA - Poulan Pro Lawn Tractor

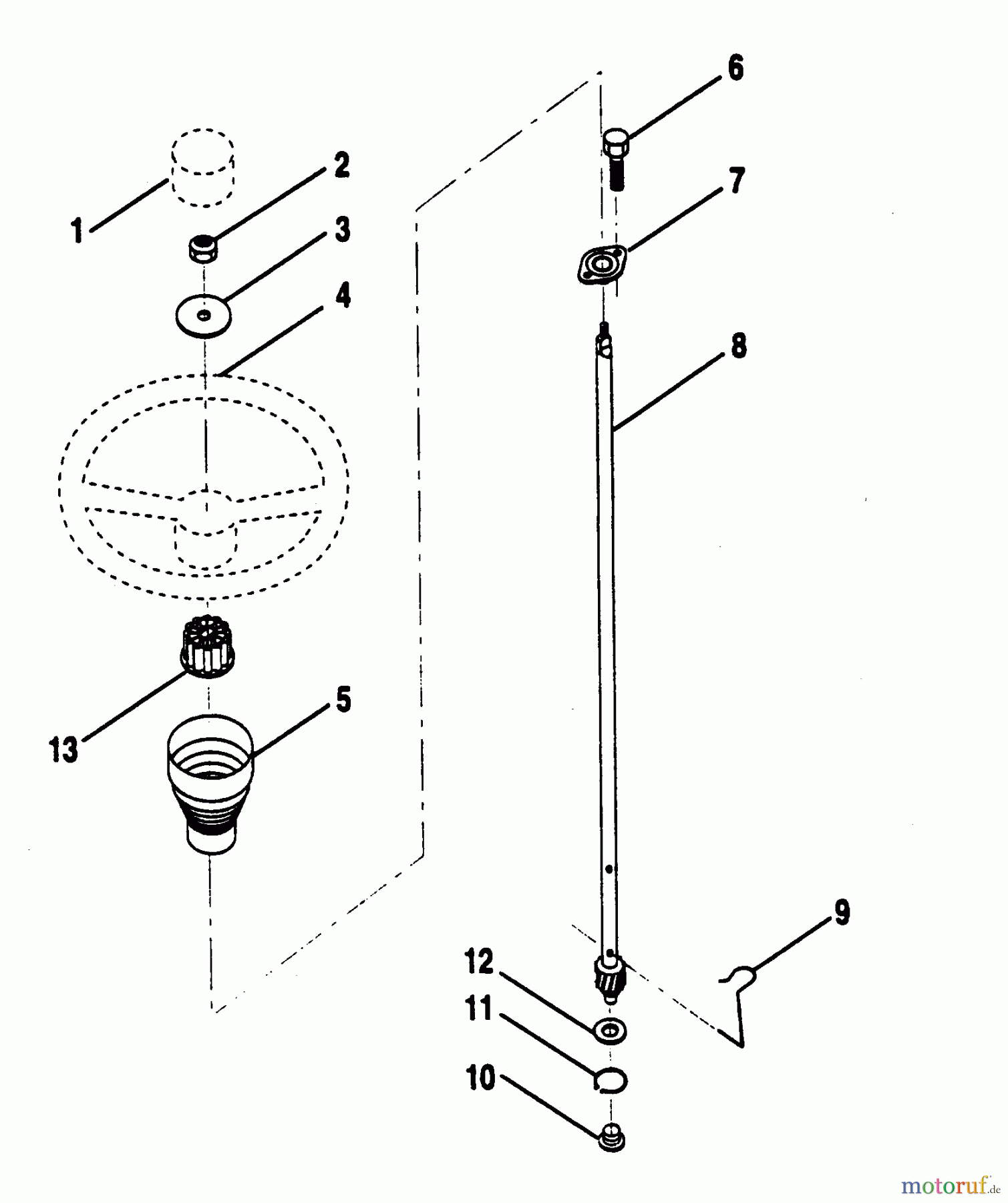
Hier finden Sie die Ersatzteilzeichnung für Poulan / Weed Eater Rasen und Gartentraktoren PP1136JA - Poulan Pro Lawn Tractor STEERING WHEEL. Wählen Sie das benötigte Ersatzteil aus der Ersatzteilliste Ihres Poulan / Weed Eater Gerätes aus und bestellen Sie einfach online. Viele Poulan / Weed Eater Ersatzteile halten wir ständig in unserem Lager für Sie bereit.
| BildNr | Artikel Nummer | Bezeichnung | |
| 1 | 532 13 37-42 | KAPSEL | |
| 2 | 532 12 47-01 | NUT | |
| 3 | 819 13 38-08 | SCHEIBE | |
| 4 | 532 13 37-41 | LENKRAD | |
| 5 | 532 12 18-97 | HÜLSE | |
| 6 | 817 21 10-08 | SCHRAUBE | |
| 7 | 532 10 28-03 | BUSHING | |
| 8 | 532 14 89-66 | STANGE | |
| 9 | 532 12 42-10 | KLAMMER | |
| 10 | 532 12 34-38 | BUCHSE | |
| 11 | 812 00 00-45 | FEDERRING | |
| 12 | 819 21 16-16 | SCHEIBE | |
| 13 | 532 10 48-20 | ADAPTER | |


Qualitätsmanagement
Informieren Sie uns, wenn Sie einen Fehler gefunden haben.

