Poulan / Weed Eater PP22 - Poulan Pro Hedge Trimmer Type 1 Carburetor WT-221 Ersatzteile
Type 1 Carburetor WT-221 PP22 - Poulan Pro Hedge Trimmer

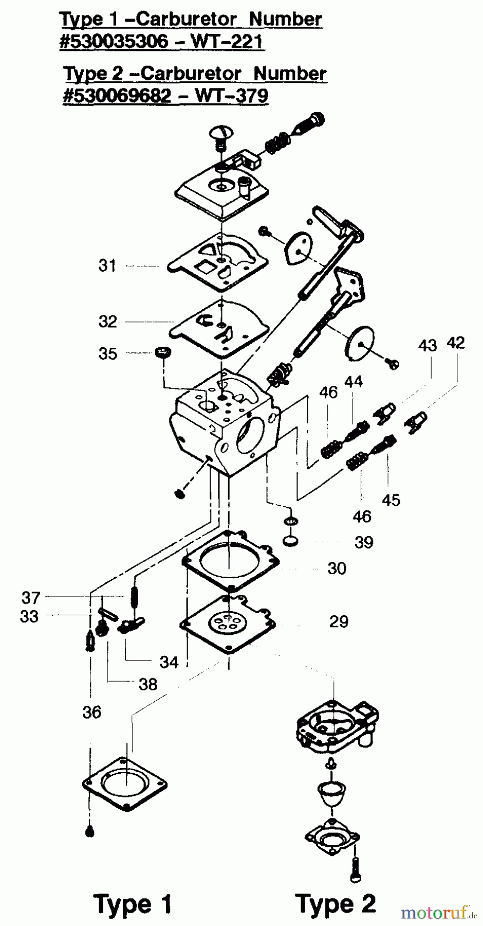
Hier finden Sie die Ersatzteilzeichnung für Poulan / Weed Eater Heckenscheren PP22 - Poulan Pro Hedge Trimmer Type 1 Carburetor WT-221. Wählen Sie das benötigte Ersatzteil aus der Ersatzteilliste Ihres Poulan / Weed Eater Gerätes aus und bestellen Sie einfach online. Viele Poulan / Weed Eater Ersatzteile halten wir ständig in unserem Lager für Sie bereit.
| BildNr | Artikel Nummer | Bezeichnung | |
| 530035305 | |||
| 29 | ![]() | 503 89 67-01 | STEUERMEMBRANE |
| 30 | 530035389 | ||
| 31 | ![]() | 504 13 09-06 | DICHTUNG |
| 32 | 504 13 08-07 | PUMPENMEMBRANE | |
| 33 | 505 52 01-25 | STIFT | |
| 34 | 505 52 01-27 | HEBEL | |
| 35 | 530 03 51-78 | SIEB | |
| 36 | 503 11 70-01 | VENTILNADEL | |
| 37 | 530 03 51-88 | FEDER | |
| 38 | 530 03 50-16 | SCHRAUBE | |
| 39 | 530 03 51-62 | PLUG | |
| 40 | |||
| 40 | (Incl. 29-32), New P/N for this | ||
| 41 | |||
| 42 | |||
| 43 | |||
| 44 | 530 03 54-07 | HAUPTSTELLNADEL | |
| 44 | 530 03 54-43 | HAUPTSTELLNADEL | |
| 45 | 530 03 54-08 | LEERLAUFSTELLNADEL | |
| 45 | 530 03 54-44 | LEERLAUFSTELLNADEL | |
| 46 | 530 03 52-93 | FEDER | |
| 46 | 530 03 54-45 | FEDER | |


Qualitätsmanagement
Informieren Sie uns, wenn Sie einen Fehler gefunden haben.



