Murray 629904x0A - B&S/ 29" Dual Stage Snow Thrower (2002) (Northern Tool) Remote Control Ersatzteile
Remote Control 629904x0A - B&S/Murray 29" Dual Stage Snow Thrower (2002) (Northern Tool)

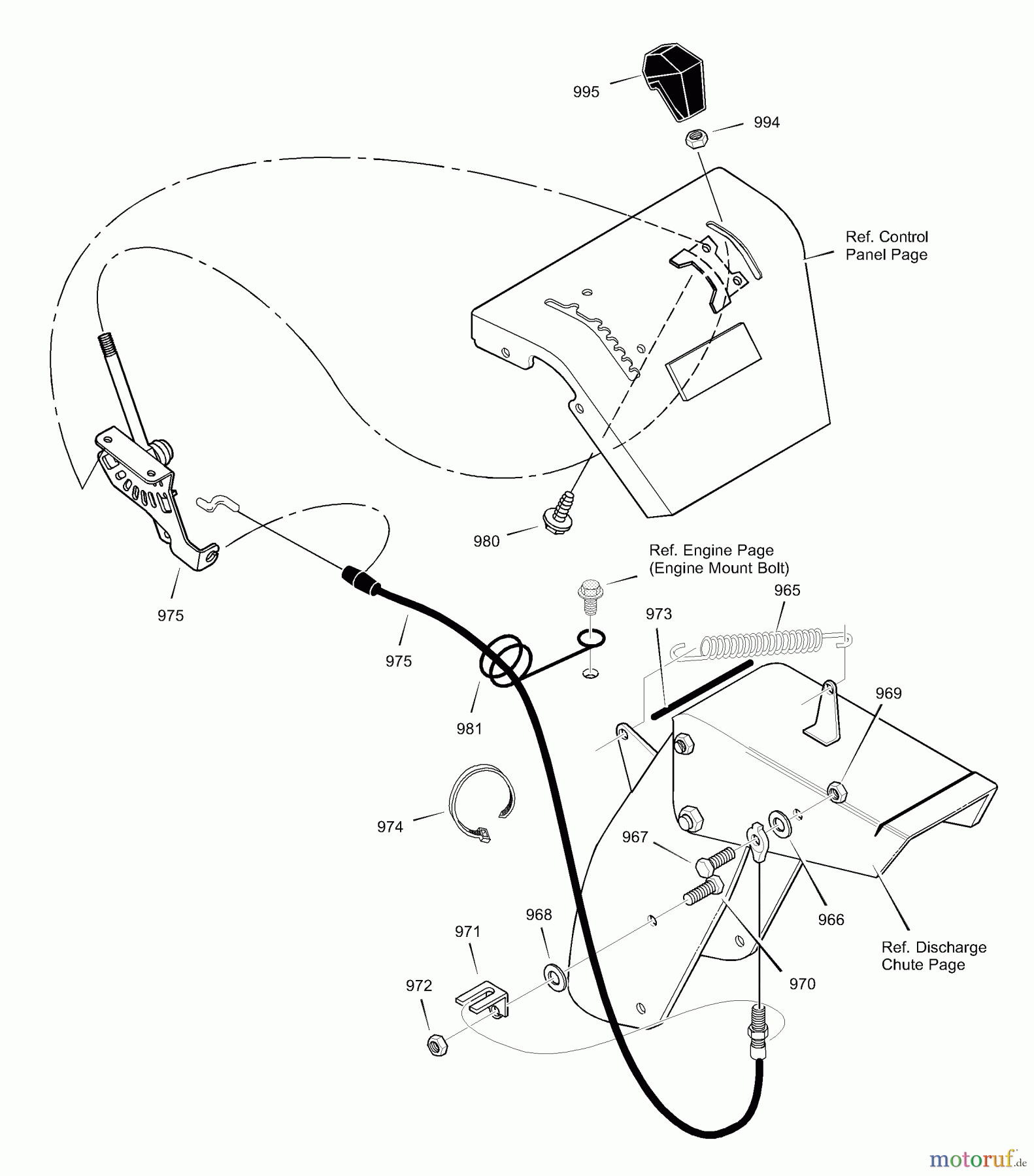
Hier finden Sie die Ersatzteilzeichnung für Murray Schneefräsen 629904x0A - B&S/Murray 29" Dual Stage Snow Thrower (2002) (Northern Tool) Remote Control. Wählen Sie das benötigte Ersatzteil aus der Ersatzteilliste Ihres Murray Gerätes aus und bestellen Sie einfach online. Viele Murray Ersatzteile halten wir ständig in unserem Lager für Sie bereit.


Qualitätsmanagement
 Informieren Sie uns, wenn Sie einen Fehler gefunden haben.

