Murray 627904x89C - Yard King Performance 27" Dual Stage Snow Thrower (2001) Control Panel Assembly Ersatzteile
Control Panel Assembly 627904x89C - Yard King Performance 27" Dual Stage Snow Thrower (2001)

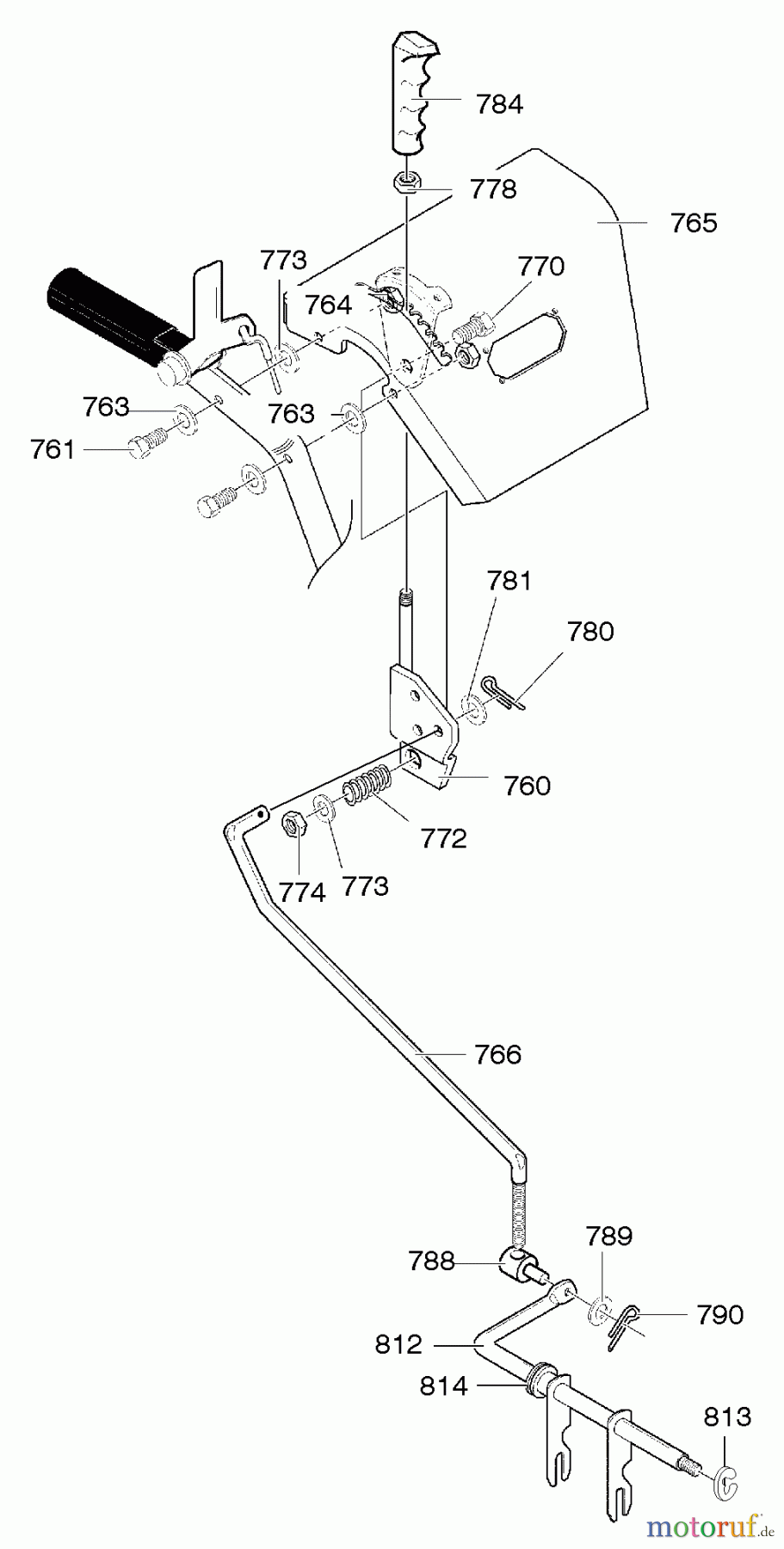
Hier finden Sie die Ersatzteilzeichnung für Murray Schneefräsen 627904x89C - Yard King Performance 27" Dual Stage Snow Thrower (2001) Control Panel Assembly. Wählen Sie das benötigte Ersatzteil aus der Ersatzteilliste Ihres Murray Gerätes aus und bestellen Sie einfach online. Viele Murray Ersatzteile halten wir ständig in unserem Lager für Sie bereit.


Qualitätsmanagement
 Informieren Sie uns, wenn Sie einen Fehler gefunden haben.

