Murray 624808x31C - Scotts 24" Dual Stage Snow Thrower (2001) (Home Depot) Shift Yoke Ersatzteile
Shift Yoke 624808x31C - Scotts 24" Dual Stage Snow Thrower (2001) (Home Depot)

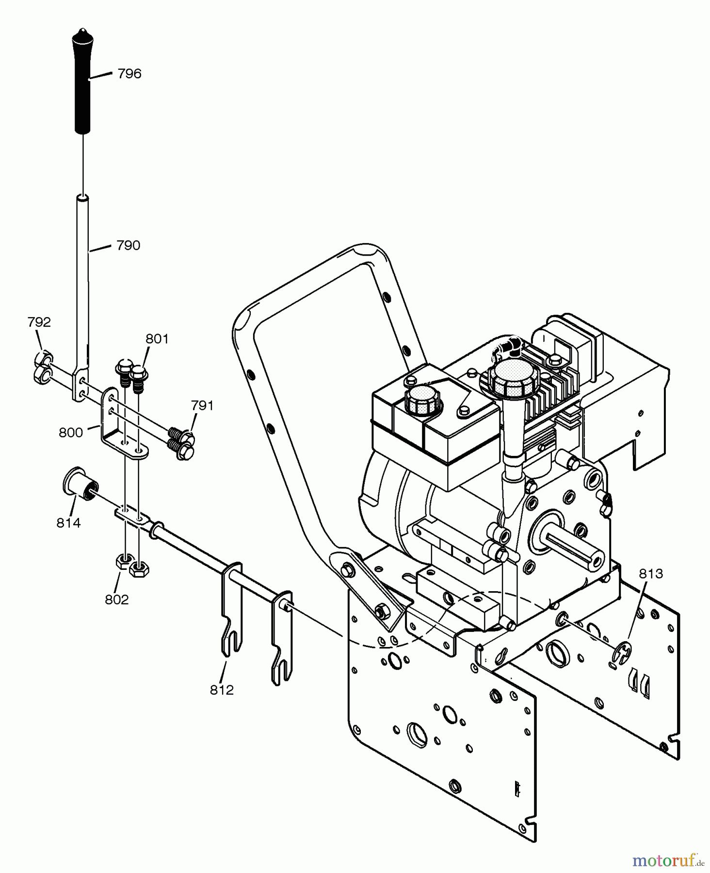
Hier finden Sie die Ersatzteilzeichnung für Murray Schneefräsen 624808x31C - Scotts 24" Dual Stage Snow Thrower (2001) (Home Depot) Shift Yoke. Wählen Sie das benötigte Ersatzteil aus der Ersatzteilliste Ihres Murray Gerätes aus und bestellen Sie einfach online. Viele Murray Ersatzteile halten wir ständig in unserem Lager für Sie bereit.
| BildNr | Artikel Nummer | Bezeichnung | |
| 790 | BS772299E717 | ||
| 791 | BS302628MA | SCHRAUBE, 1/4-20X .75 HH | |
| 792 | ![]() | BS73826MA | NUT.25-20 HEX CTRL0CK |
| 796 | BS331624MA | KNOB, SLIP PLASTISOL | |
| 800 | BS760564MA | LEVER,SPRING SHIFT | |
| 801 | BS302628MA | SCHRAUBE, 1/4-20X .75 HH | |
| 802 | BS73826 | ||
| 811 | BS579944MA | BRNG FL .500ID X .88 | |
| 812 | BS1501085YZMA | SPEED SELECT ASY | |
| 813 | BS11X30MA | RETAINER, RING 7/16 Y | |
| 814 | BS | Eingangswelle UE 600 | |


Qualitätsmanagement
Informieren Sie uns, wenn Sie einen Fehler gefunden haben.


