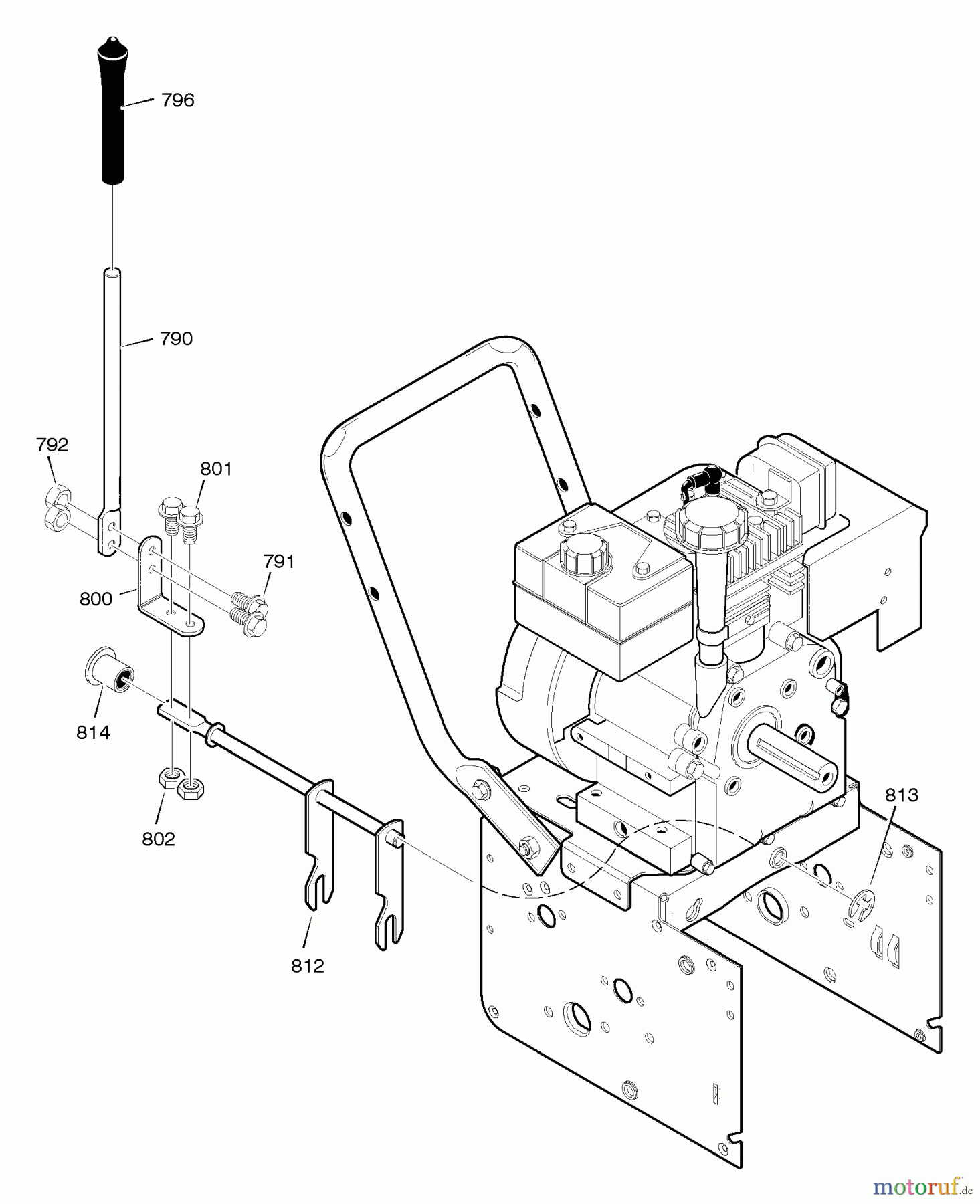
Murray 622505x4B - 22" Dual Stage Snow Thrower (2004) Shift Yoke Ersatzteile
Shift Yoke 622505x4B - Murray 22" Dual Stage Snow Thrower (2004)

Hier finden Sie die Ersatzteilzeichnung für Murray Schneefräsen 622505x4B - Murray 22" Dual Stage Snow Thrower (2004) Shift Yoke. Wählen Sie das benötigte Ersatzteil aus der Ersatzteilliste Ihres Murray Gerätes aus und bestellen Sie einfach online. Viele Murray Ersatzteile halten wir ständig in unserem Lager für Sie bereit.




