Murray BTPD22675 (7800882) - Brute 22" Self-Propelled Walk-Behind Mower (2012) Engine Group (7502914) Ersatzteile
Engine Group (7502914) BTPD22675 (7800882) - Brute 22" Self-Propelled Walk-Behind Mower (2012)

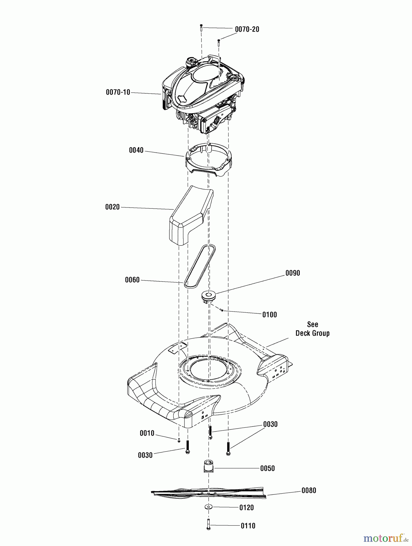
Hier finden Sie die Ersatzteilzeichnung für Murray Rasenmäher BTPD22675 (7800882) - Brute 22" Self-Propelled Walk-Behind Mower (2012) Engine Group (7502914). Wählen Sie das benötigte Ersatzteil aus der Ersatzteilliste Ihres Murray Gerätes aus und bestellen Sie einfach online. Viele Murray Ersatzteile halten wir ständig in unserem Lager für Sie bereit.
| BildNr | Artikel Nummer | Bezeichnung | |
| 0010 | BS26X313MA | SCREW-#10X1.38 BLACK | |
| 0020 | BS1101830MA | COVER, BELT 22SD FDTM | |
| 0030 | BS025X11MA | SCHRAUBE- MOTORGESTELL | |
| 0040 | BS1101786MA | SPACER-ENG 2122FDTM | |
| 0050 | BS7104074YP | MESSERNABE 22 | |
| 0060 | BS7104084YP | ANTRIEBSRIEMEN 22 WBM | |
| 0070-10 | BS128M02-0115-F1 | ||
| 0070-20 | ![]() | BS691138 | SCHRAUBE |
| 0080 | BS7103288YP | BLADE WAVE STEEL DECK | |
| 0090 | BS7100763MA | PULLEY, ENGINE | |
| 0100 | BS26X303MA | SCREW, #8 - 11 X .63 | |
| 0110 | BS7090167SM | HHCS, 3/8F X2 GR5 | |
| 0120 | BS7012063SM | WASHER, CONE | |


Qualitätsmanagement
Informieren Sie uns, wenn Sie einen Fehler gefunden haben.


