Murray BTP2265HW (7800267) - Brute 22" Walk-Behind Mower (2008) Engine, Blade & Deck Group Ersatzteile
Engine, Blade & Deck Group BTP2265HW (7800267) - Brute 22" Walk-Behind Mower (2008)

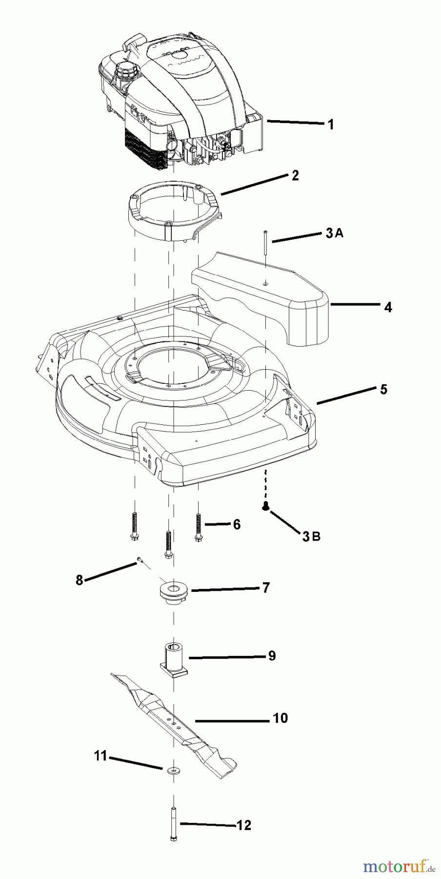
Hier finden Sie die Ersatzteilzeichnung für Murray Rasenmäher BTP2265HW (7800267) - Brute 22" Walk-Behind Mower (2008) Engine, Blade & Deck Group. Wählen Sie das benötigte Ersatzteil aus der Ersatzteilliste Ihres Murray Gerätes aus und bestellen Sie einfach online. Viele Murray Ersatzteile halten wir ständig in unserem Lager für Sie bereit.



