Murray 42511x4A - 42" Lawn Tractor (1999) Engine Mount Ersatzteile
Engine Mount 42511x4A - Murray 42" Lawn Tractor (1999)

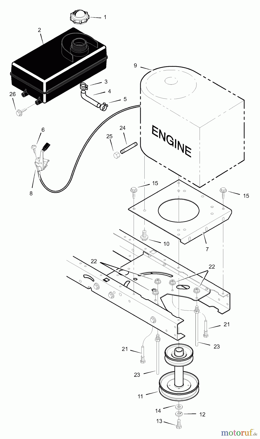
Hier finden Sie die Ersatzteilzeichnung für Murray Rasen- und Gartentraktoren 42511x4A - Murray 42" Lawn Tractor (1999) Engine Mount. Wählen Sie das benötigte Ersatzteil aus der Ersatzteilliste Ihres Murray Gerätes aus und bestellen Sie einfach online. Viele Murray Ersatzteile halten wir ständig in unserem Lager für Sie bereit.



