Murray 40541D - 40" Lawn Tractor (2000) Engine Mount Ersatzteile
Engine Mount 40541D - Murray 40" Lawn Tractor (2000)

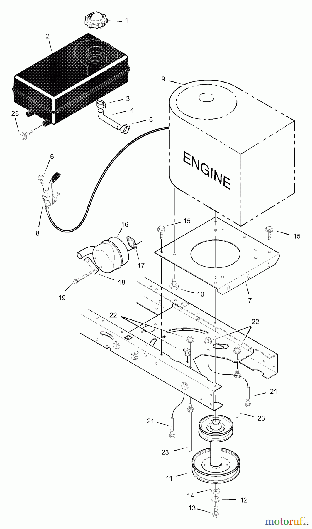
Hier finden Sie die Ersatzteilzeichnung für Murray Rasen- und Gartentraktoren 40541D - Murray 40" Lawn Tractor (2000) Engine Mount. Wählen Sie das benötigte Ersatzteil aus der Ersatzteilliste Ihres Murray Gerätes aus und bestellen Sie einfach online. Viele Murray Ersatzteile halten wir ständig in unserem Lager für Sie bereit.



