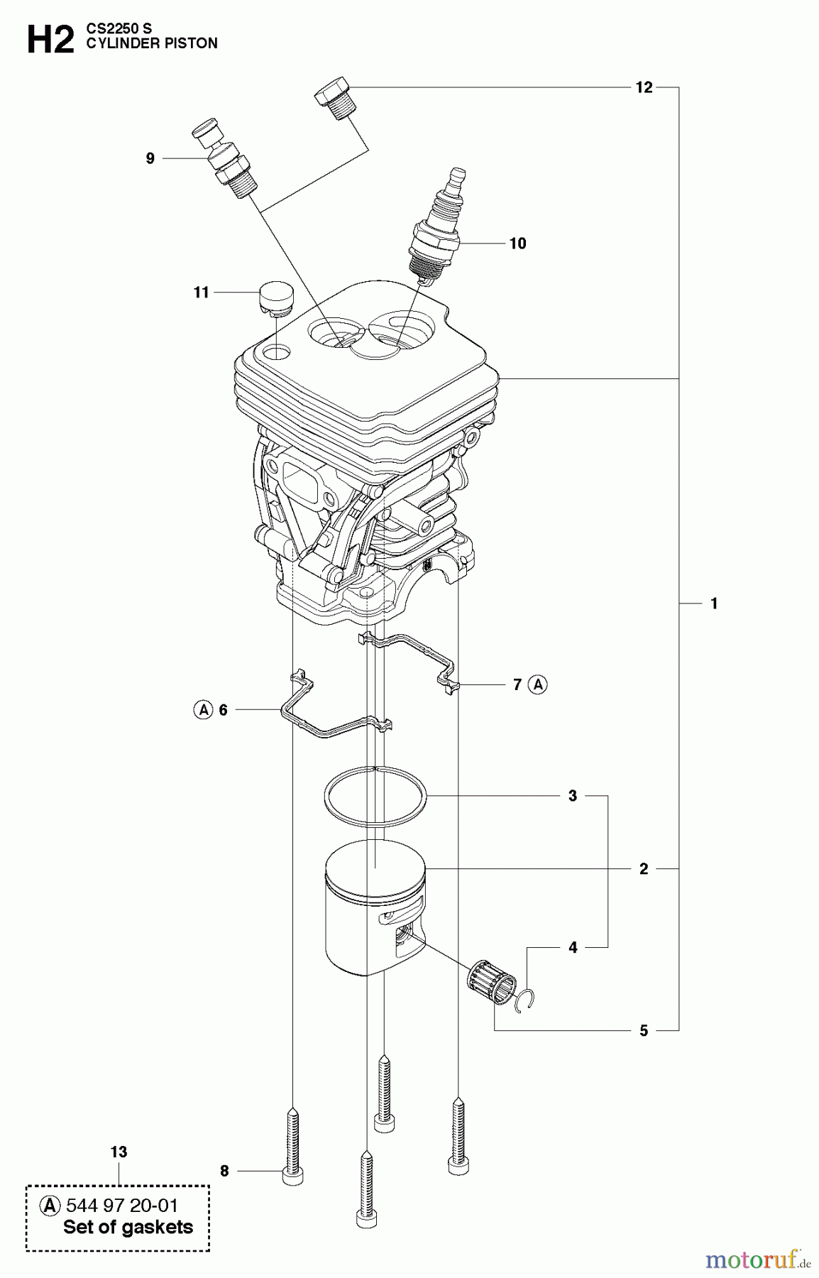
Jonsered CS2250 S - Chainsaw (2010-07) CYLINDER PISTON Ersatzteile
CYLINDER PISTON CS2250 S - Jonsered Chainsaw (2010-07)

Hier finden Sie die Ersatzteilzeichnung für Jonsered Motorsägen CS2250 S - Jonsered Chainsaw (2010-07) CYLINDER PISTON. Wählen Sie das benötigte Ersatzteil aus der Ersatzteilliste Ihres Jonsered Gerätes aus und bestellen Sie einfach online. Viele Jonsered Ersatzteile halten wir ständig in unserem Lager für Sie bereit.



