Jonsered CS2186 EPA - Chainsaw (2007-01) CYLINDER PISTON Ersatzteile
CYLINDER PISTON CS2186 EPA - Jonsered Chainsaw (2007-01)

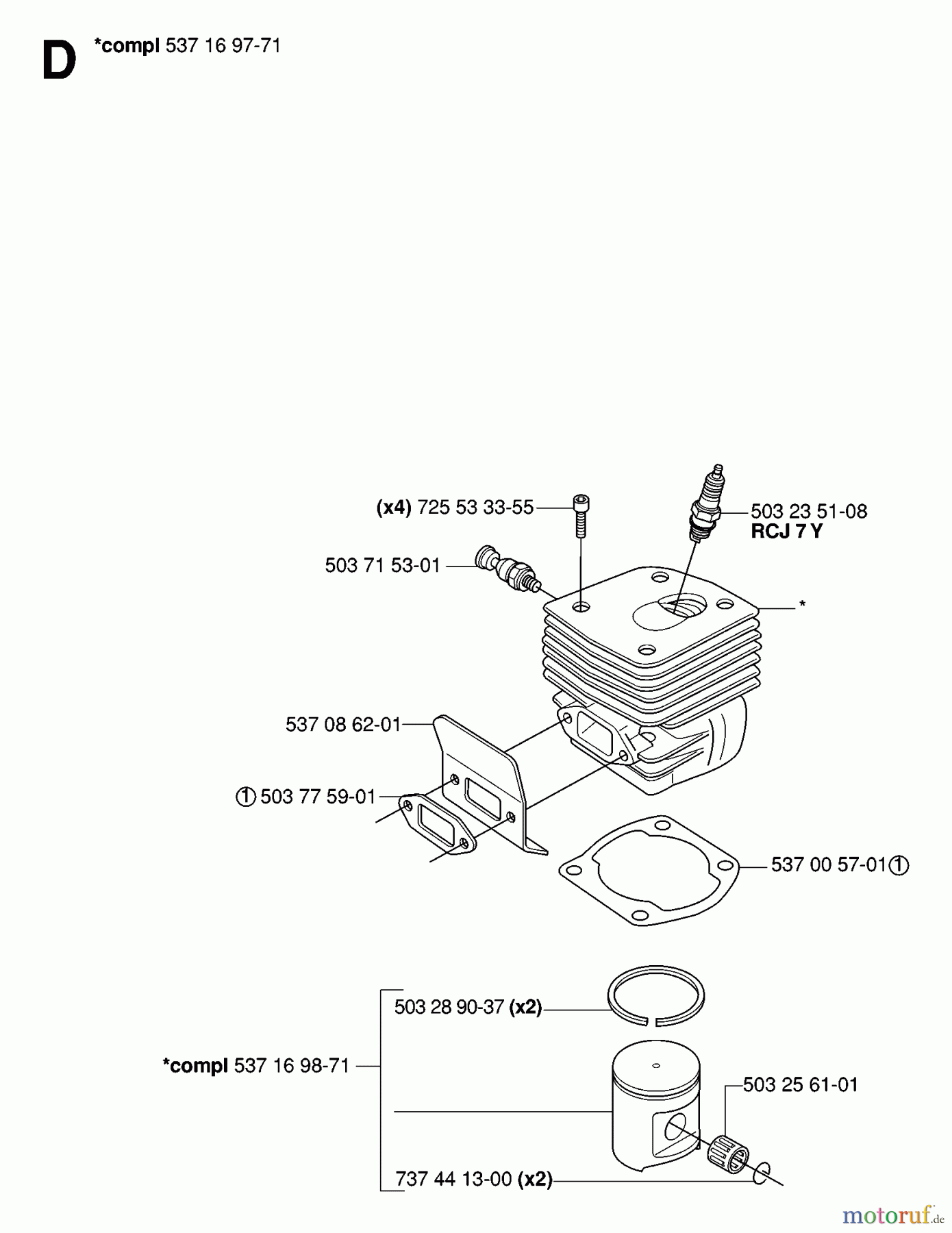
Hier finden Sie die Ersatzteilzeichnung für Jonsered Motorsägen CS2186 EPA - Jonsered Chainsaw (2007-01) CYLINDER PISTON. Wählen Sie das benötigte Ersatzteil aus der Ersatzteilliste Ihres Jonsered Gerätes aus und bestellen Sie einfach online. Viele Jonsered Ersatzteile halten wir ständig in unserem Lager für Sie bereit.
| BildNr | Artikel Nummer | Bezeichnung | |
| 5371697-71 | 537 16 97-71 | ZYLINDER KPL. | |
| 7255333-55 | ![]() | 725 53 33-55 | SCHRAUBE |
| 5037153-01 | 503 71 53-01 | VENTIL DEKOMPR. | |
| 5370862-01 | 537 08 62-01 | ABLENRER | |
| 5037759-01 | 503 77 59-01 | AUSPUFFDICHTUNG | |
| 5371698-71 | 537 16 98-71 | KOLBEN | |
| 7374413-00 | 737 44 13-00 | FEDERRING | |
| 5032890-37 | 503 28 90-37 | KOLBENRING | |
| 5032561-01 | 503 25 61-01 | NADELLAGER | |
| 5370057-01 | 537 00 57-01 | DICHTUNG | |
| 5032351-08 | 503235111 | ||


Qualitätsmanagement
Informieren Sie uns, wenn Sie einen Fehler gefunden haben.


