Jonsered CS2171 EPA - Chainsaw (2003-05) CYLINDER COVER Ersatzteile
CYLINDER COVER CS2171 EPA - Jonsered Chainsaw (2003-05)

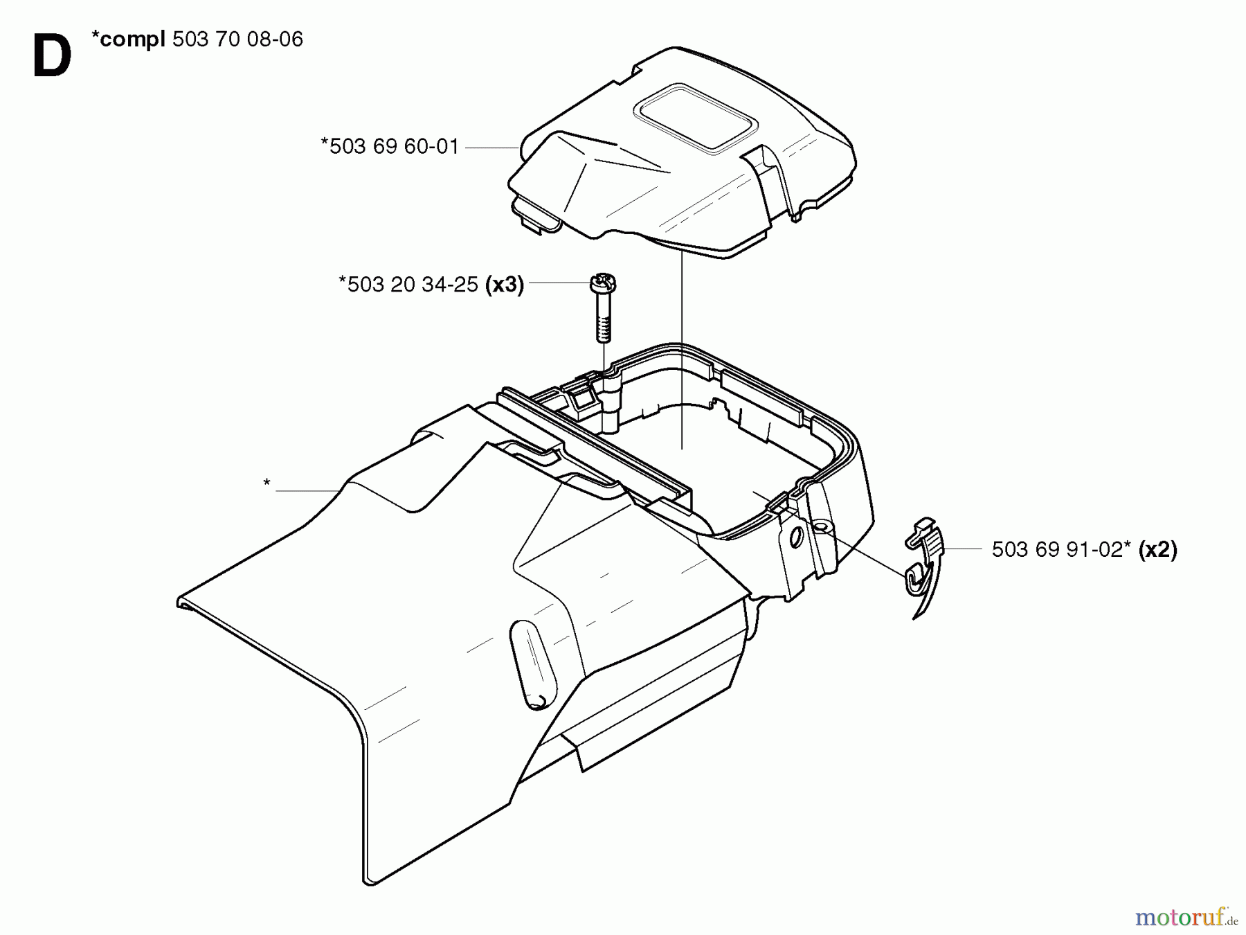
Hier finden Sie die Ersatzteilzeichnung für Jonsered Motorsägen CS2171 EPA - Jonsered Chainsaw (2003-05) CYLINDER COVER. Wählen Sie das benötigte Ersatzteil aus der Ersatzteilliste Ihres Jonsered Gerätes aus und bestellen Sie einfach online. Viele Jonsered Ersatzteile halten wir ständig in unserem Lager für Sie bereit.
| BildNr | Artikel Nummer | Bezeichnung | |
| 5037008-06 | 503 70 08-06 | ZYLINDERDECKEL | |
| 5036960-01 | 503 69 60-01 | FILTERDECKEL | |
| 5032034-25 | ![]() | 503 20 34-25 | SCHRAUBE |
| 5036991-02 | 503 69 91-02 | KLAMMER | |


Qualitätsmanagement
Informieren Sie uns, wenn Sie einen Fehler gefunden haben.


