Jonsered FR2218 A 4X4 (966978601) - Rear-Engine Riding Mower (2009-02) COVER #1 Ersatzteile
COVER #1 FR2218 A 4X4 (966978601) - Jonsered Rear-Engine Riding Mower (2009-02)

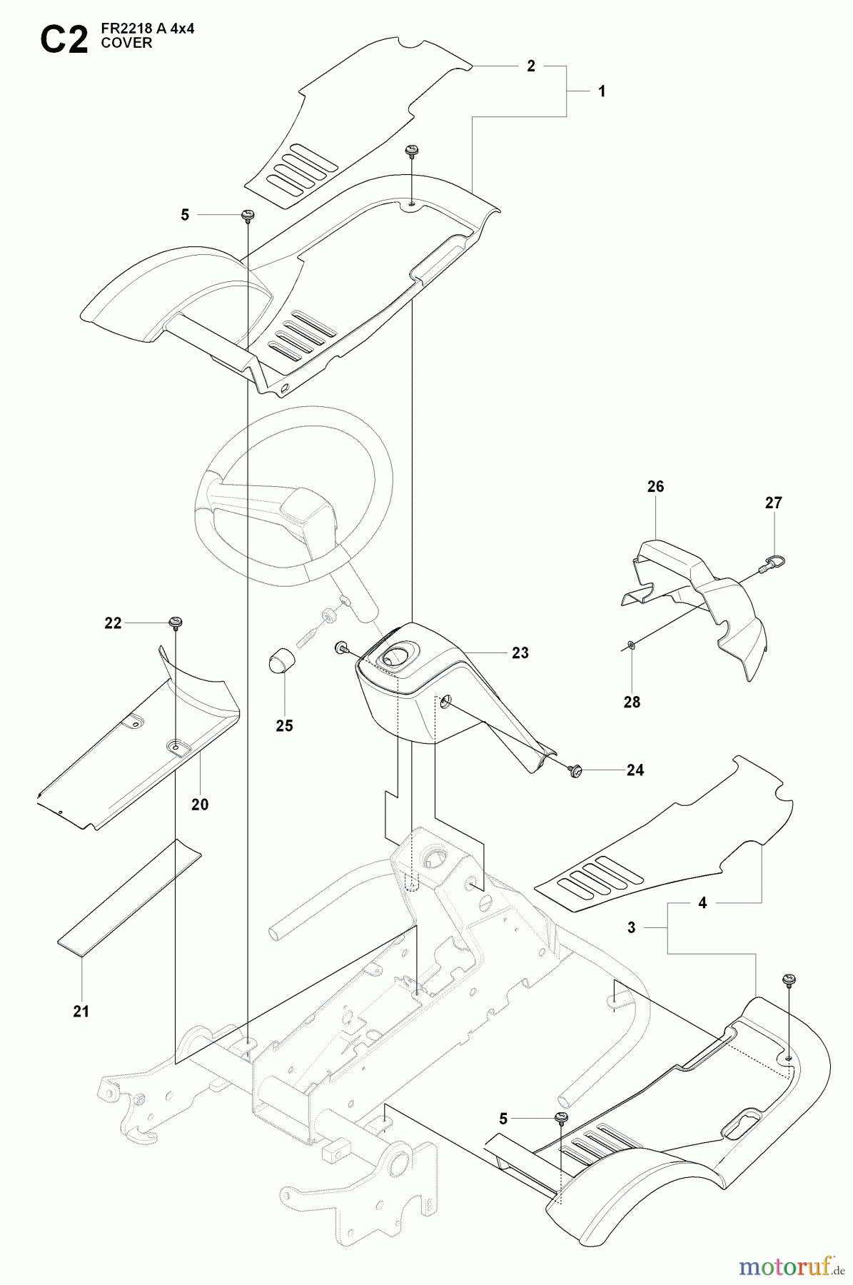
Hier finden Sie die Ersatzteilzeichnung für Jonsered Reitermäher FR2218 A 4X4 (966978601) - Jonsered Rear-Engine Riding Mower (2009-02) COVER #1. Wählen Sie das benötigte Ersatzteil aus der Ersatzteilliste Ihres Jonsered Gerätes aus und bestellen Sie einfach online. Viele Jonsered Ersatzteile halten wir ständig in unserem Lager für Sie bereit.




