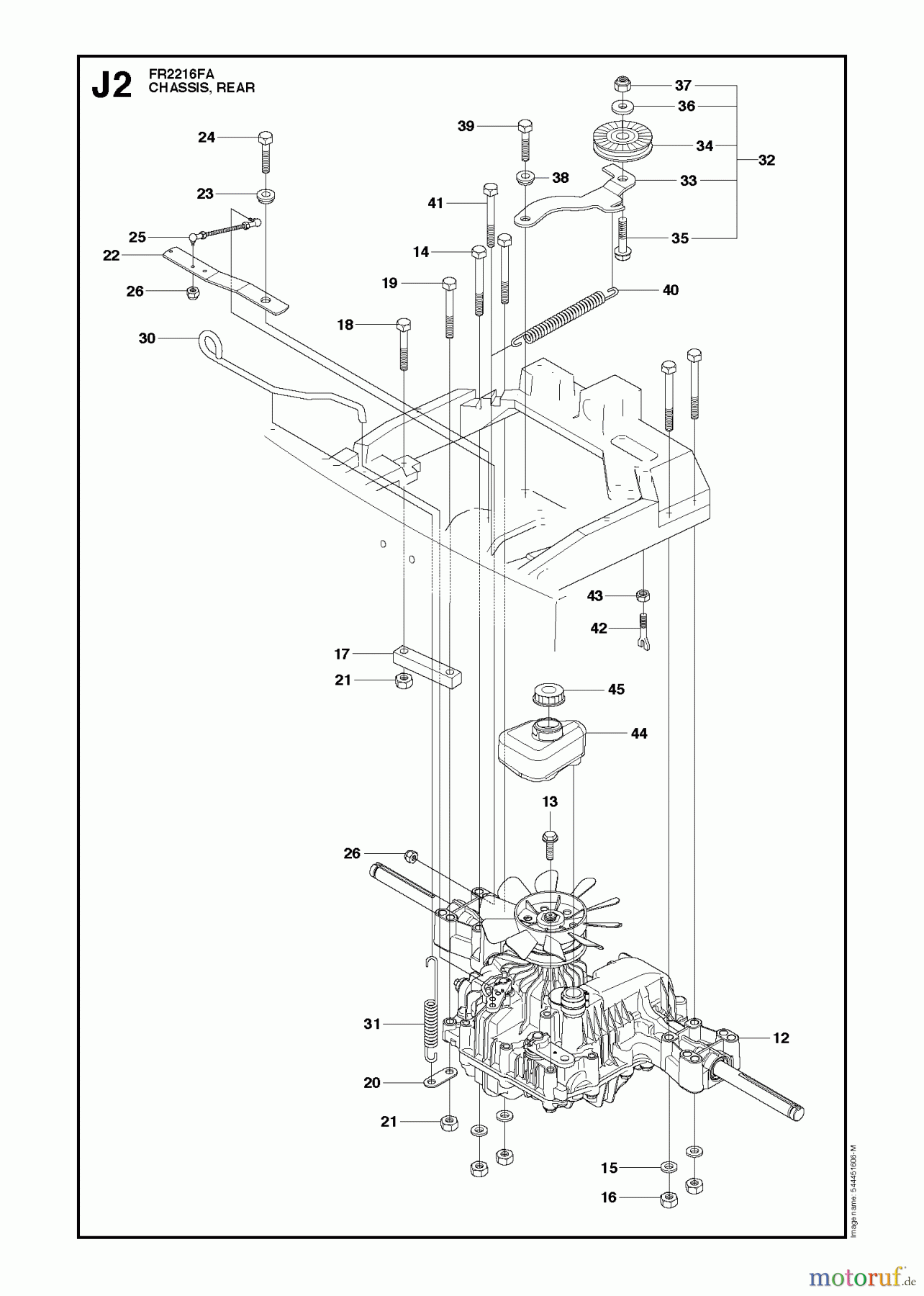
Jonsered FR2216 FA (966414801) - Rear-Engine Riding Mower (2010-03) CHASSIS REAR #1 Ersatzteile
CHASSIS REAR #1 FR2216 FA (966414801) - Jonsered Rear-Engine Riding Mower (2010-03)

Hier finden Sie die Ersatzteilzeichnung für Jonsered Reitermäher FR2216 FA (966414801) - Jonsered Rear-Engine Riding Mower (2010-03) CHASSIS REAR #1. Wählen Sie das benötigte Ersatzteil aus der Ersatzteilliste Ihres Jonsered Gerätes aus und bestellen Sie einfach online. Viele Jonsered Ersatzteile halten wir ständig in unserem Lager für Sie bereit.











