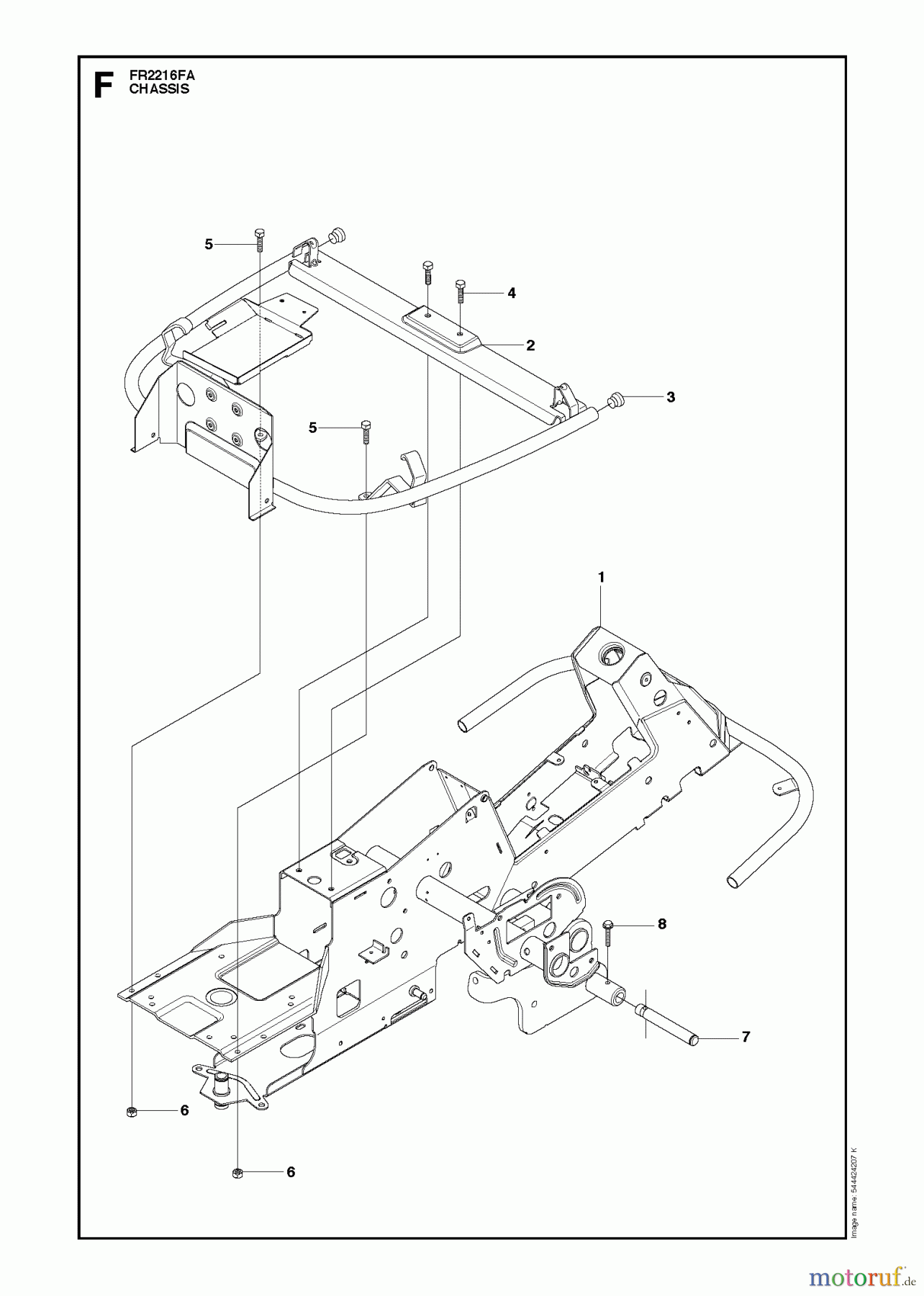
Jonsered FR2216 FA (966414801) - Rear-Engine Riding Mower (2010-03) CHASSIS / FRAME Ersatzteile
CHASSIS / FRAME FR2216 FA (966414801) - Jonsered Rear-Engine Riding Mower (2010-03)

Hier finden Sie die Ersatzteilzeichnung für Jonsered Reitermäher FR2216 FA (966414801) - Jonsered Rear-Engine Riding Mower (2010-03) CHASSIS / FRAME. Wählen Sie das benötigte Ersatzteil aus der Ersatzteilliste Ihres Jonsered Gerätes aus und bestellen Sie einfach online. Viele Jonsered Ersatzteile halten wir ständig in unserem Lager für Sie bereit.
| BildNr | Artikel Nummer | Bezeichnung | |
| 1 | 544 84 23-02 | RAHMEN | |
| 8 | 725 24 59-61 | SCHRAUBE | |
| 2 | 502 24 78-02 | Fangbügel | |
| 3 | 506 81 01-01 | PFROPFEN | |
| 4 | 506 57 01-03 | BOLZEN | |
| 5 | 725 24 51-71 | SCHRAUBE | |
| 6 | ![]() | 732 21 18-01 | MUTTER |
| 7 | 535 47 08-01 | ACHSE | |


Qualitätsmanagement
Informieren Sie uns, wenn Sie einen Fehler gefunden haben.


