Jonsered FR2213 RA (966773301) - Rear-Engine Riding Mower (2012) COVER #1 Ersatzteile
COVER #1 FR2213 RA (966773301) - Jonsered Rear-Engine Riding Mower (2012)

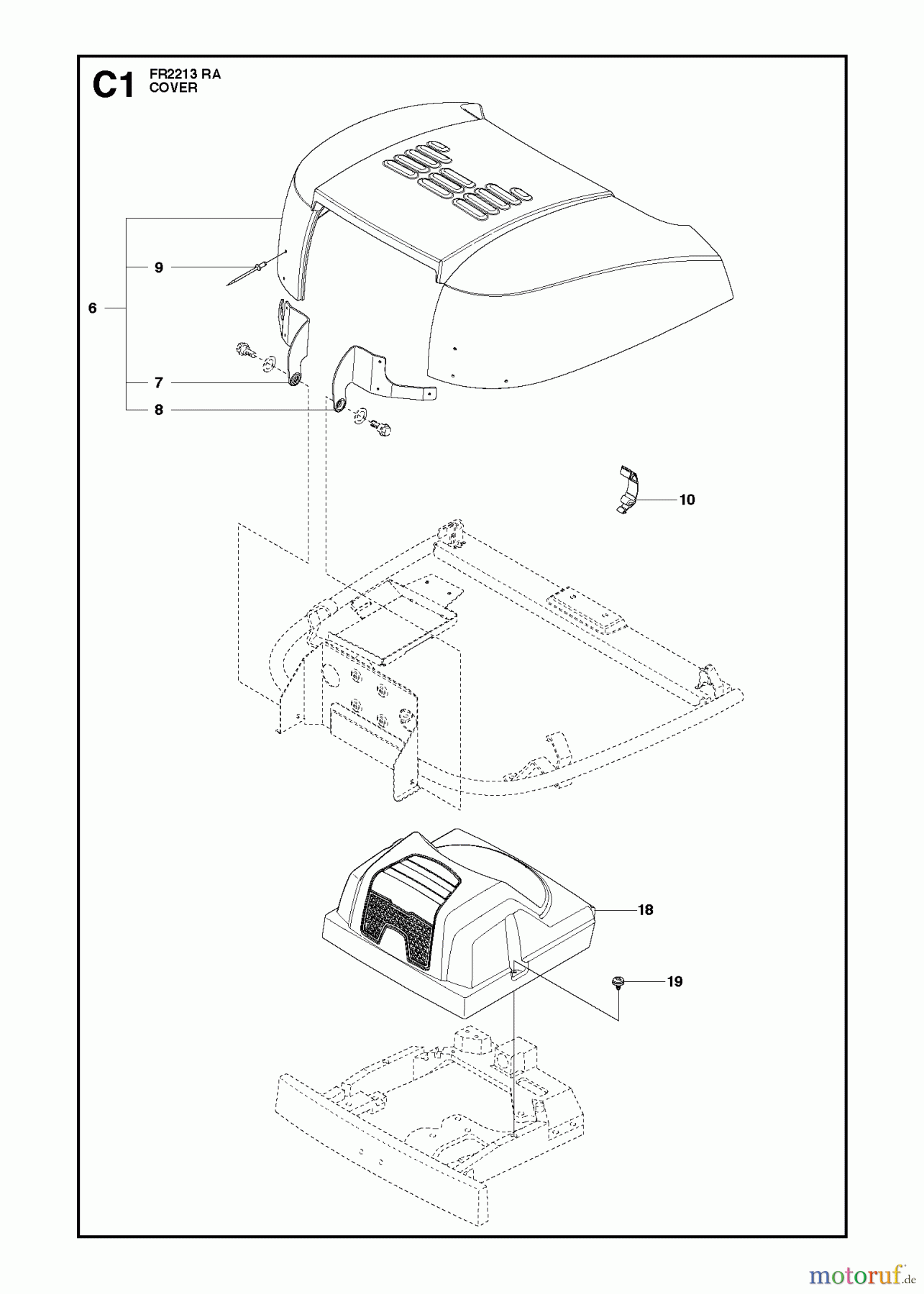
Hier finden Sie die Ersatzteilzeichnung für Jonsered Reitermäher FR2213 RA (966773301) - Jonsered Rear-Engine Riding Mower (2012) COVER #1. Wählen Sie das benötigte Ersatzteil aus der Ersatzteilliste Ihres Jonsered Gerätes aus und bestellen Sie einfach online. Viele Jonsered Ersatzteile halten wir ständig in unserem Lager für Sie bereit.
| BildNr | Artikel Nummer | Bezeichnung | |
| 6 | 535 41 90-04 | Motorhaube | |
| 7 | 535 41 99-01 | BEFESTIGUNG | |
| 8 | 535 41 99-02 | BEFESTIGUNG | |
| 9 | 722 79 54-02 | NIETE | |
| 10 | ![]() | 503 89 47-02 | KLAMMER |
| 18 | 574 85 61-02 | Deckel | |
| 19 | ![]() | 544 40 05-01 | GEWINDESTIFT |





