Jonsered FR2211 R (965190101) - Rear-Engine Riding Mower (2009-04) COVER #1 Ersatzteile
COVER #1 FR2211 R (965190101) - Jonsered Rear-Engine Riding Mower (2009-04)

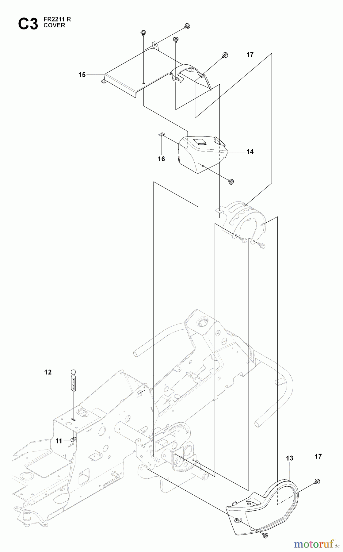
Hier finden Sie die Ersatzteilzeichnung für Jonsered Reitermäher FR2211 R (965190101) - Jonsered Rear-Engine Riding Mower (2009-04) COVER #1. Wählen Sie das benötigte Ersatzteil aus der Ersatzteilliste Ihres Jonsered Gerätes aus und bestellen Sie einfach online. Viele Jonsered Ersatzteile halten wir ständig in unserem Lager für Sie bereit.
| BildNr | Artikel Nummer | Bezeichnung | |
| 13 | 504 05 95-01 | DECKEL | |
| 14 | 504 05 97-02 | DECKEL | |
| 15 | 504 05 98-01 | ABDECKUNG | |
| 16 | 535 42 91-01 | KONTERMUTTER M6 | |
| 17 | ![]() | 544 40 05-01 | GEWINDESTIFT |
| 11 | 506 59 95-01 | KNOPF | |
| 12 | 506 59 96-01 | STÜTZBAND | |


Qualitätsmanagement
Informieren Sie uns, wenn Sie einen Fehler gefunden haben.


