Jonsered FR2211 R (965190101) - Rear-Engine Riding Mower (2008-02) CHASSIS / FRAME #3 Ersatzteile
CHASSIS / FRAME #3 FR2211 R (965190101) - Jonsered Rear-Engine Riding Mower (2008-02)

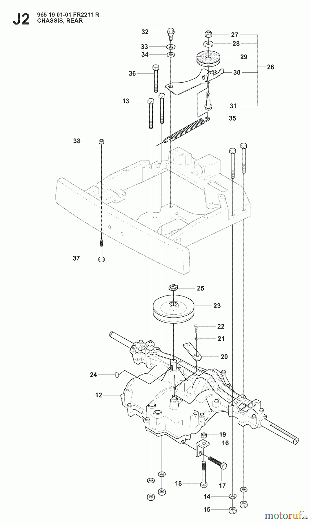
Hier finden Sie die Ersatzteilzeichnung für Jonsered Reitermäher FR2211 R (965190101) - Jonsered Rear-Engine Riding Mower (2008-02) CHASSIS / FRAME #3. Wählen Sie das benötigte Ersatzteil aus der Ersatzteilliste Ihres Jonsered Gerätes aus und bestellen Sie einfach online. Viele Jonsered Ersatzteile halten wir ständig in unserem Lager für Sie bereit.







