Jonsered FR2111 M (965190201) - Rear-Engine Riding Mower (2010-07) CHASSIS ENGINE PULLEYS #2 Ersatzteile
CHASSIS ENGINE PULLEYS #2 FR2111 M (965190201) - Jonsered Rear-Engine Riding Mower (2010-07)

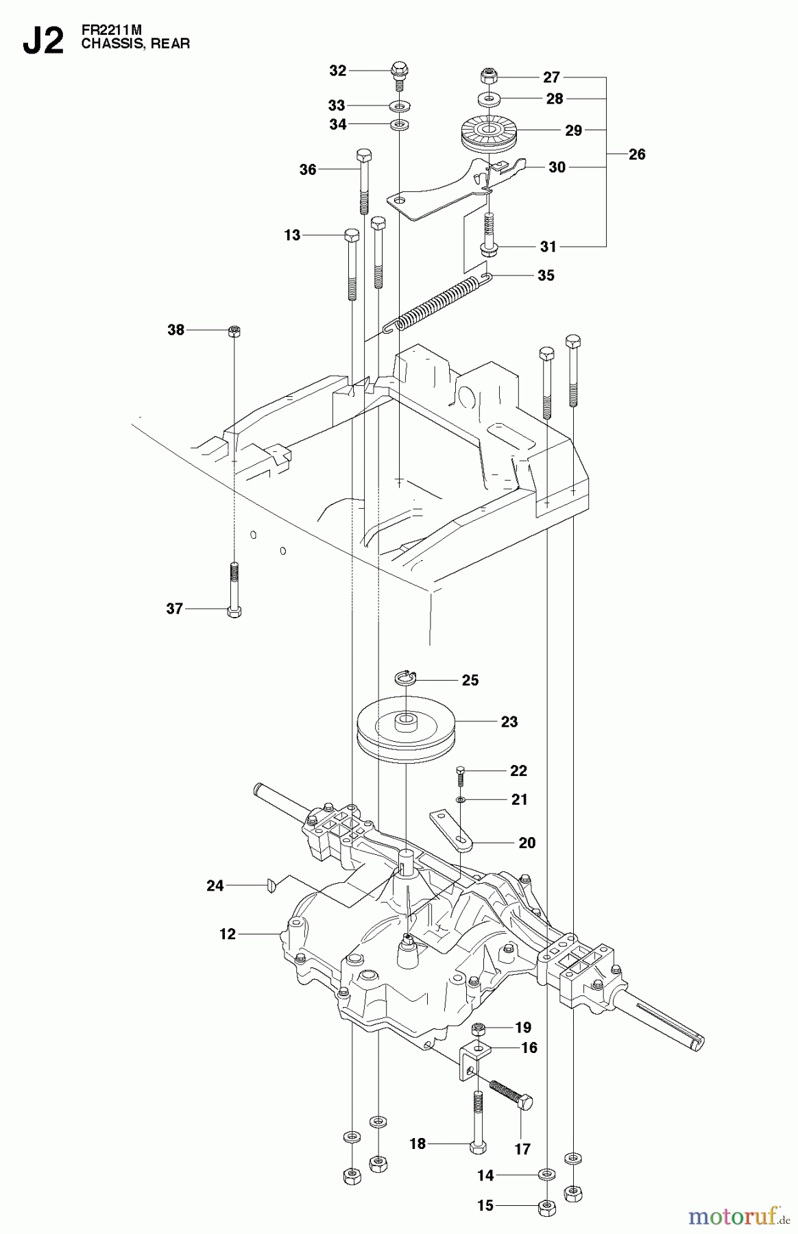
Hier finden Sie die Ersatzteilzeichnung für Jonsered Reitermäher FR2111 M (965190201) - Jonsered Rear-Engine Riding Mower (2010-07) CHASSIS ENGINE PULLEYS #2. Wählen Sie das benötigte Ersatzteil aus der Ersatzteilliste Ihres Jonsered Gerätes aus und bestellen Sie einfach online. Viele Jonsered Ersatzteile halten wir ständig in unserem Lager für Sie bereit.


Qualitätsmanagement
Informieren Sie uns, wenn Sie einen Fehler gefunden haben.





