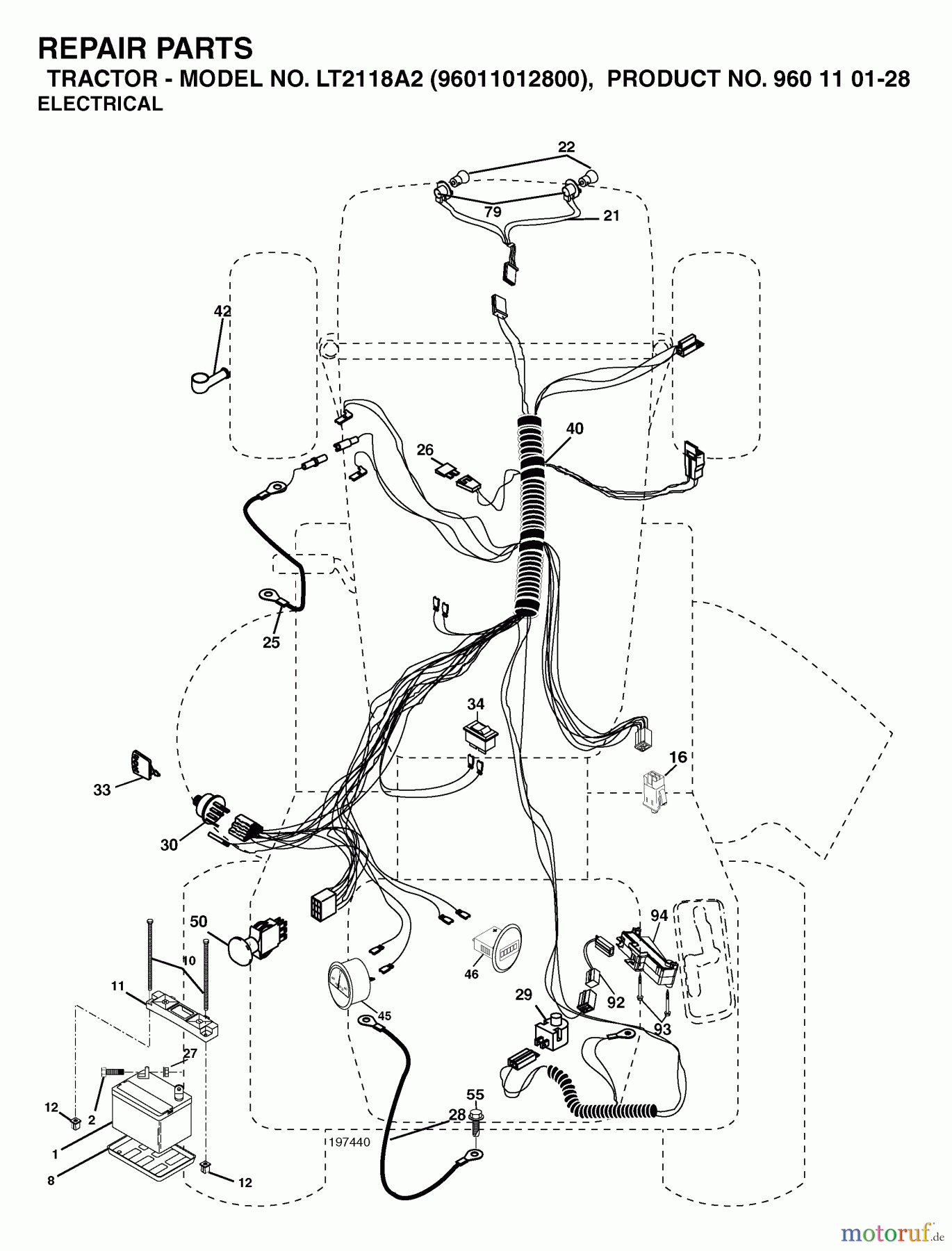
Jonsered LT2118 A2 (96011012800) - Lawn & Garden Tractor (2006-02) ELECTRICAL Ersatzteile
ELECTRICAL LT2118 A2 (96011012800) - Jonsered Lawn & Garden Tractor (2006-02)

Hier finden Sie die Ersatzteilzeichnung für Jonsered Rasen und Garten Traktoren LT2118 A2 (96011012800) - Jonsered Lawn & Garden Tractor (2006-02) ELECTRICAL. Wählen Sie das benötigte Ersatzteil aus der Ersatzteilliste Ihres Jonsered Gerätes aus und bestellen Sie einfach online. Viele Jonsered Ersatzteile halten wir ständig in unserem Lager für Sie bereit.






