Husqvarna Rider 220T (966785701) - Rear-Engine Rider (2012-03 & After) CHASSIS LOWER Ersatzteile
CHASSIS LOWER Rider 220T (966785701) - Husqvarna Rear-Engine Rider (2012-03 & After)

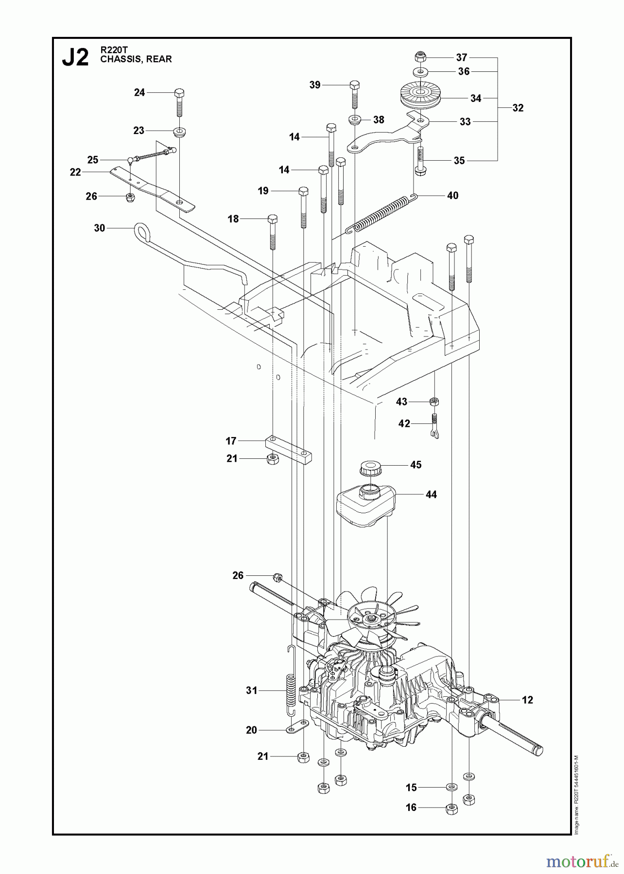
Hier finden Sie die Ersatzteilzeichnung für Husqvarna Reitermäher, Motor hinten Rider 220T (966785701) - Husqvarna Rear-Engine Rider (2012-03 & After) CHASSIS LOWER. Wählen Sie das benötigte Ersatzteil aus der Ersatzteilliste Ihres Husqvarna Gerätes aus und bestellen Sie einfach online. Viele Husqvarna Ersatzteile halten wir ständig in unserem Lager für Sie bereit.


Qualitätsmanagement
Informieren Sie uns, wenn Sie einen Fehler gefunden haben.






