Husqvarna 145 BT - Backpack Blower (2005-08 & After) Muffler Ersatzteile
Muffler 145 BT - Husqvarna Backpack Blower (2005-08 & After)

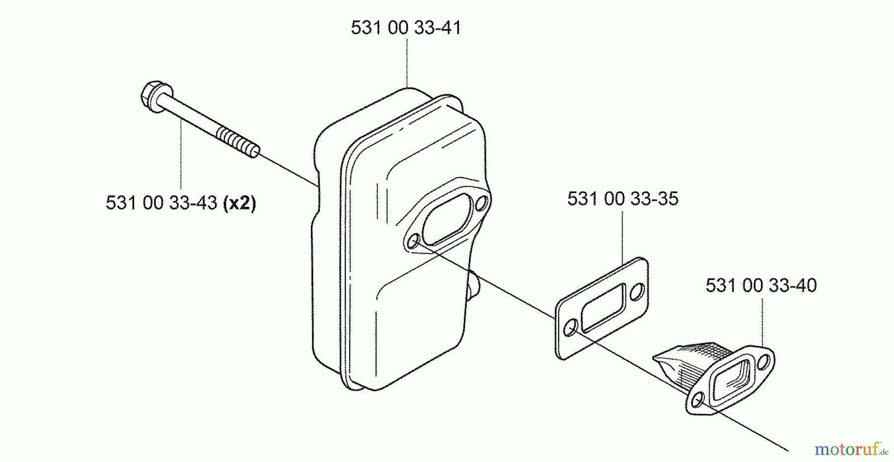
Hier finden Sie die Ersatzteilzeichnung für Husqvarna Bläser / Sauger / Häcksler / Mulchgeräte 145 BT - Husqvarna Backpack Blower (2005-08 & After) Muffler. Wählen Sie das benötigte Ersatzteil aus der Ersatzteilliste Ihres Husqvarna Gerätes aus und bestellen Sie einfach online. Viele Husqvarna Ersatzteile halten wir ständig in unserem Lager für Sie bereit.
| BildNr | Artikel Nummer | Bezeichnung | |
| 531003341 | 531 00 33-41 | SCHALLDAEMPFER | |
| 531003343 | 531 00 33-43 | SCHRAUBE | |
| 531003335 | 531 00 33-35 | DICHTUNG | |
| 531003340 | 531 00 33-40 | EINSATZ | |



