Cub Cadet XZ1 127 17CICACQ603 (2019) Messerspindel 618-06980 Ersatzteile
Messerspindel 618-06980 17CICACQ603 (2019)

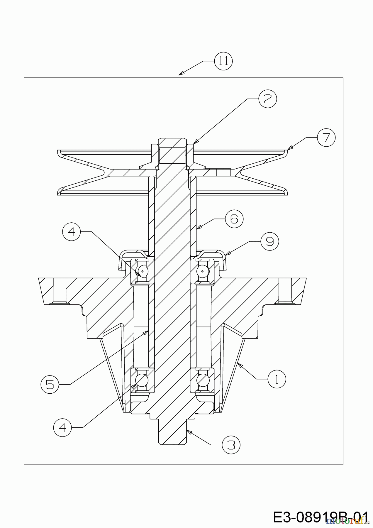
Hier finden Sie die Ersatzteilzeichnung für Cub Cadet Zero Turn XZ1 127 17CICACQ603 (2019) Messerspindel 618-06980. Wählen Sie das benötigte Ersatzteil aus der Ersatzteilliste Ihres Cub Cadet Gerätes aus und bestellen Sie einfach online. Viele Cub Cadet Ersatzteile halten wir ständig in unserem Lager für Sie bereit.


Qualitätsmanagement
Informieren Sie uns, wenn Sie einen Fehler gefunden haben.





