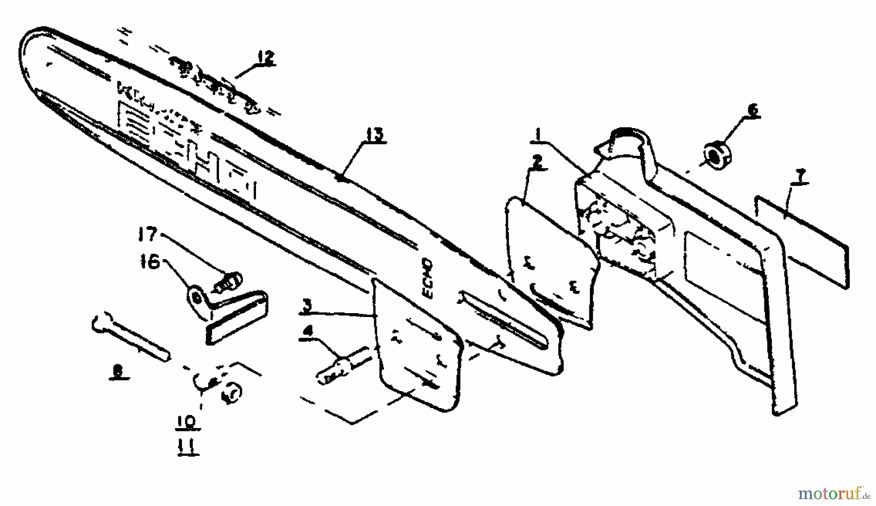
Echo CS-302S - Chainsaw, S/N: 30501 - 64670 Cutting Attachment Ersatzteile
Cutting Attachment CS-302S - Echo Chainsaw, S/N: 30501 - 64670

Hier finden Sie die Ersatzteilzeichnung für Echo Sägen, Kettensägen CS-302S - Echo Chainsaw, S/N: 30501 - 64670 Cutting Attachment. Wählen Sie das benötigte Ersatzteil aus der Ersatzteilliste Ihres Echo Gerätes aus und bestellen Sie einfach online. Viele Echo Ersatzteile halten wir ständig in unserem Lager für Sie bereit.


Qualitätsmanagement
Informieren Sie uns, wenn Sie einen Fehler gefunden haben.


