Echo M14V A1Z0 - Lawn Mower Engine Fuel System Ersatzteile
Fuel System M14V A1Z0 - Echo Lawn Mower Engine

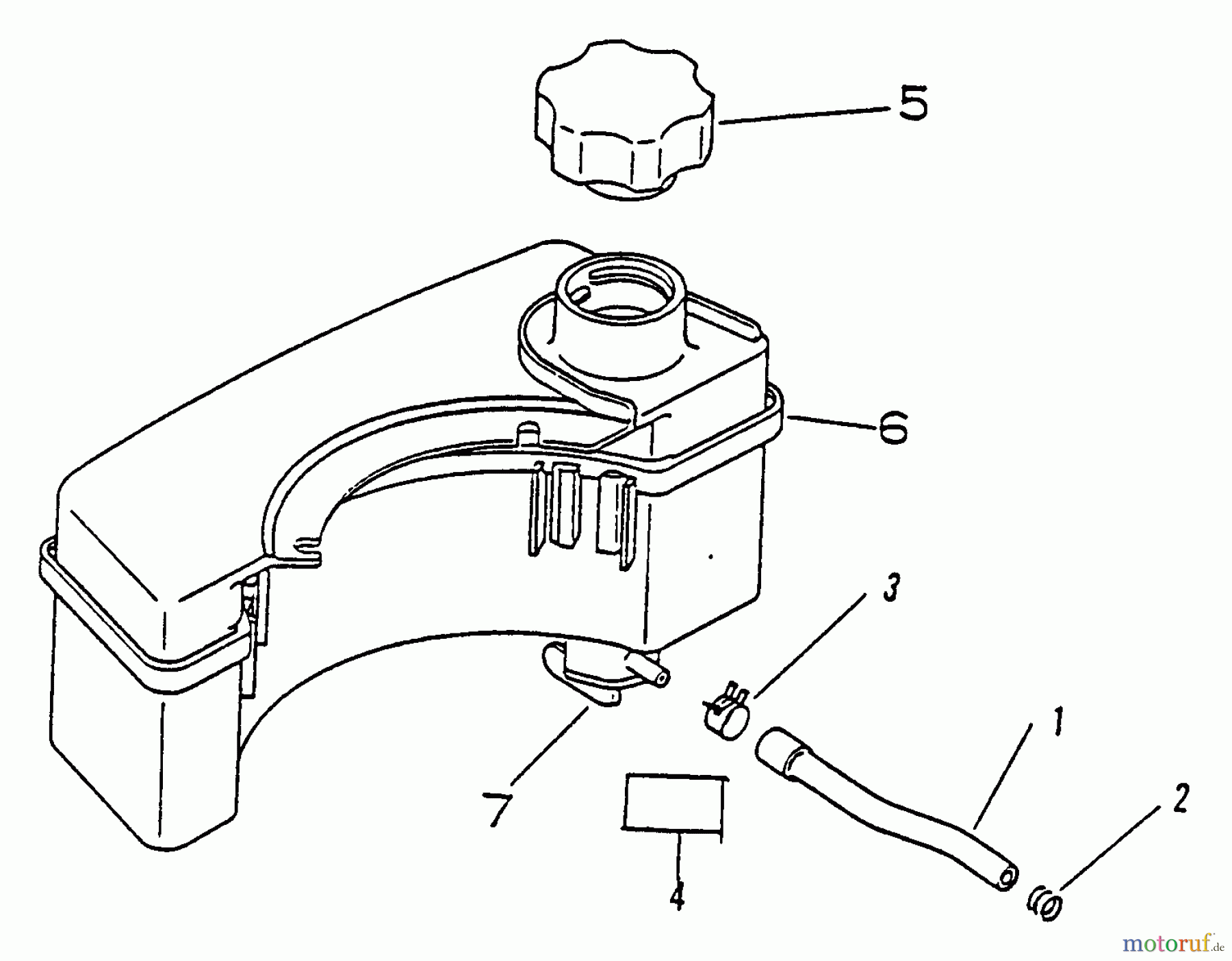
Hier finden Sie die Ersatzteilzeichnung für Echo Rasenmäher M14V A1Z0 - Echo Lawn Mower Engine Fuel System. Wählen Sie das benötigte Ersatzteil aus der Ersatzteilliste Ihres Echo Gerätes aus und bestellen Sie einfach online. Viele Echo Ersatzteile halten wir ständig in unserem Lager für Sie bereit.
| BildNr | Artikel Nummer | Bezeichnung | |
| 1 | 1613201211620 | ||
| 2 | 1613201311620 | ||
| 3 | 1613201311720 | ||
| 4 | 1689015911620 | ||
| 5 | 1699999999999 | ||
| 6 | 1613100011620 | ||
| 7 | 1613220411620 | ||
| 7 | 1613220411621 | ||


Qualitätsmanagement
Informieren Sie uns, wenn Sie einen Fehler gefunden haben.

