Echo LM-212PB - Walk-Behind Lawn Mower Deck, Wheels, Discharge Chute, Blade, Drive System Ersatzteile
Deck, Wheels, Discharge Chute, Blade, Drive System LM-212PB - Echo Walk-Behind Lawn Mower

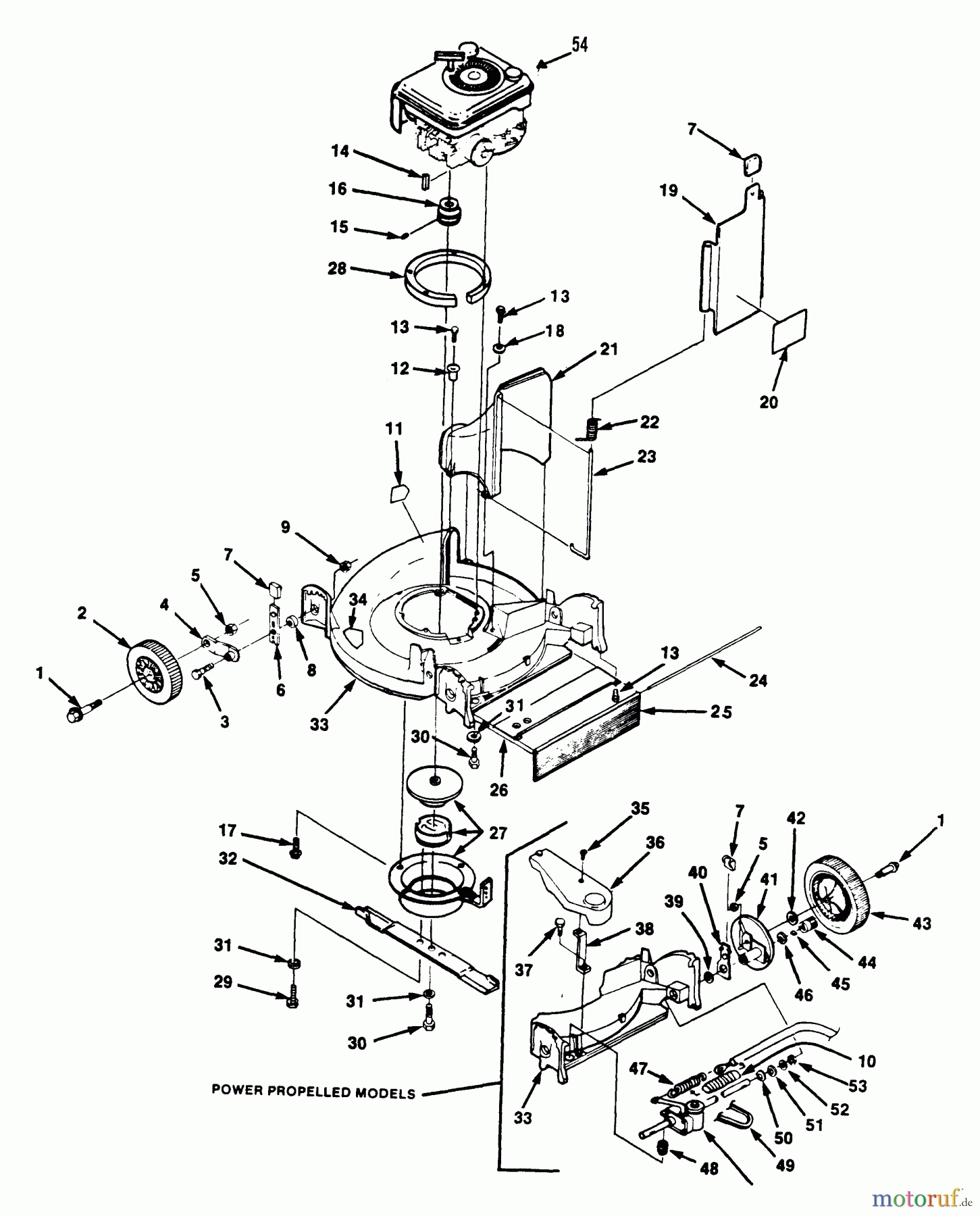
Hier finden Sie die Ersatzteilzeichnung für Echo Rasenmäher LM-212PB - Echo Walk-Behind Lawn Mower Deck, Wheels, Discharge Chute, Blade, Drive System. Wählen Sie das benötigte Ersatzteil aus der Ersatzteilliste Ihres Echo Gerätes aus und bestellen Sie einfach online. Viele Echo Ersatzteile halten wir ständig in unserem Lager für Sie bereit.
| BildNr | Artikel Nummer | Bezeichnung | |
| 1 | 1699999999999 | ||
| 2 | 16700993058 | ||
| 3 | 16700359180 | ||
| 4 | 16700991287 | ||
| 5 | 16700444850 | ||
| 6 | 16700990087 | ||
| 7 | 16700336623 | ||
| 8 | 16700358362 | ||
| 9 | 16700445775 | ||
| 10 | 16700359270 | ||
| 11 | 16700339460 | ||
| 12 | 16700473183 | ||
| 13 | 16700408878 | ||
| 14 | 16700463029 | ||
| 15 | 16700422505 | ||
| 16 | 16700993007 | ||
| 17 | 16700409912 | ||
| 18 | 16700453023 | ||
| 19 | 16700984092 | ||
| 20 | 16700991217 | ||
| 21 | 16700994064 | ||
| 22 | 16700992947 | ||
| 23 | 16700359167 | ||
| 24 | 16700359170 | ||
| 25 | 16700359257 | ||
| 26 | 16700991285 | ||
| 27 | 16700994213 | ||
| 28 | 16700994016 | ||
| 29 | 16700401208 | ||
| 30 | 16700401209 | ||
| 31 | 16700446142 | ||
| 32 | 16700991189 | ||
| 33 | 16700994222 | ||
| 34 | 16700992393 | ||
| 35 | 16700408879 | ||
| 36 | 16700994218 | ||
| 37 | 16700409704 | ||
| 38 | 16700994243 | ||
| 39 | 16700350141 | ||
| 40 | 16700991288 | ||
| 41 | 16700990074 | ||
| 42 | 16700359500 | ||
| 43 | 16700993975 | ||
| 44 | 16700204244 | ||
| 44 | 16700204245 | ||
| 45 | 16700313659 | ||
| 46 | 16700351077 | ||
| 47 | 16700375748 | ||
| 48 | 16700350266 | ||
| 49 | 16700991218 | ||
| 50 | 16700458451 | ||
| 51 | 16700358406 | ||
| 52 | 16700328147 | ||
| 53 | 16700454037 | ||
| 54 | 161162 | ||
| 55 | 16 | 16 | |



