Echo SHC-210 - Shaft Hedge Trimmer, S/N: 05001001 - 05999999 Main Pipe Assembly S/N: 05008268 - 05999999 Ersatzteile
Main Pipe Assembly S/N: 05008268 - 05999999 SHC-210 - Echo Shaft Hedge Trimmer, S/N: 05001001 - 05999999

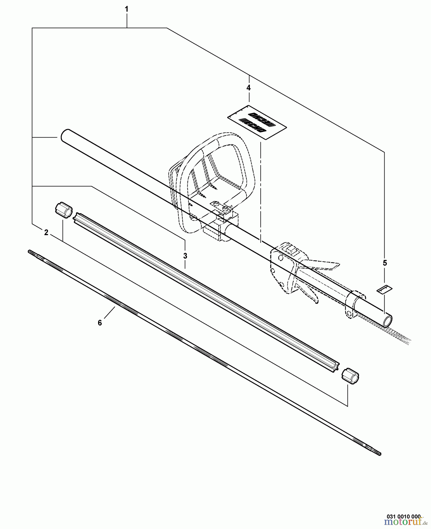
Hier finden Sie die Ersatzteilzeichnung für Echo Heckenscheren SHC-210 - Echo Shaft Hedge Trimmer, S/N: 05001001 - 05999999 Main Pipe Assembly S/N: 05008268 - 05999999. Wählen Sie das benötigte Ersatzteil aus der Ersatzteilliste Ihres Echo Gerätes aus und bestellen Sie einfach online. Viele Echo Ersatzteile halten wir ständig in unserem Lager für Sie bereit.
| BildNr | Artikel Nummer | Bezeichnung | |
| 1 | 16C050000350 | ||
| 2 | 16-610246-44730 | Führung HCA-2400 | |
| 3 | 16C507000080 | ||
| 4 | 16X505001930 | ||
| 5 | 16-890152-04930 | Aufkleber | |
| 6 | 16C506000370 | ||


Qualitätsmanagement
Informieren Sie uns, wenn Sie einen Fehler gefunden haben.

