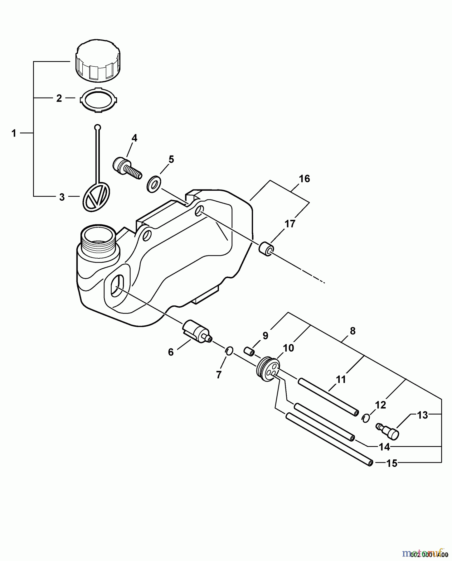
Echo HC-230 - Hedge Trimmer, S/N: 06001001 - 06999999 Fuel System S/N: 06001001 - 06001800 Ersatzteile
Fuel System S/N: 06001001 - 06001800 HC-230 - Echo Hedge Trimmer, S/N: 06001001 - 06999999

Hier finden Sie die Ersatzteilzeichnung für Echo Heckenscheren HC-230 - Echo Hedge Trimmer, S/N: 06001001 - 06999999 Fuel System S/N: 06001001 - 06001800. Wählen Sie das benötigte Ersatzteil aus der Ersatzteilliste Ihres Echo Gerätes aus und bestellen Sie einfach online. Viele Echo Ersatzteile halten wir ständig in unserem Lager für Sie bereit.





