Echo PB-9 - Back Pack Blower Control Lever Ersatzteile
Control Lever PB-9 - Echo Back Pack Blower

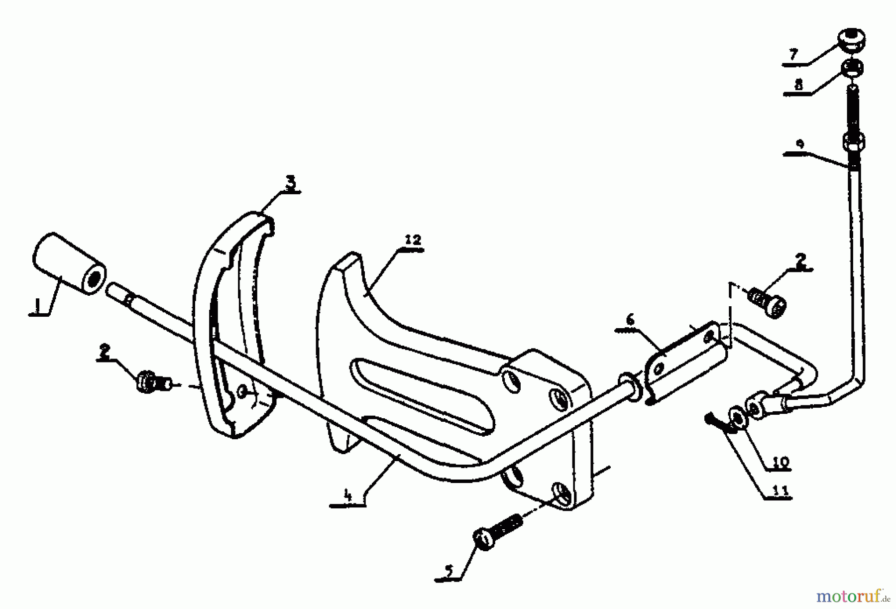
Hier finden Sie die Ersatzteilzeichnung für Echo Bläser / Sauger / Häcksler / Mulchgeräte PB-9 - Echo Back Pack Blower Control Lever. Wählen Sie das benötigte Ersatzteil aus der Ersatzteilliste Ihres Echo Gerätes aus und bestellen Sie einfach online. Viele Echo Ersatzteile halten wir ständig in unserem Lager für Sie bereit.
| BildNr | Artikel Nummer | Bezeichnung | |
| 1 | 1617802301110 | ||
| 2 | 16-900220-05010 | Schraube | |
| 3 | 1699999999999 | ||
| 4 | 1617800501610 | ||
| 5 | 16-900220-05018 | Schraube | |
| 6 | 1617811401110 | ||
| 7 | 1617802101110 | ||
| 8 | 16-900500-00004 | Mutter | |
| 9 | 1617801101110 | ||
| 10 | 16-900600-00004 | Scheibe | |
| 11 | 1690030016010 | ||
| 12 | 1670111201810 | ||


Qualitätsmanagement
Informieren Sie uns, wenn Sie einen Fehler gefunden haben.

