Zurück zu
>
Benzinmotoren
>
Kawasaki
>
FA / FC
>
FC 150 V ( 2003 / 2090065- )
>
Vergaser (2090065-2003-3)
Ersatzteillisten für Wolf Benzinmotoren Vergaser (2090065-2003-3)
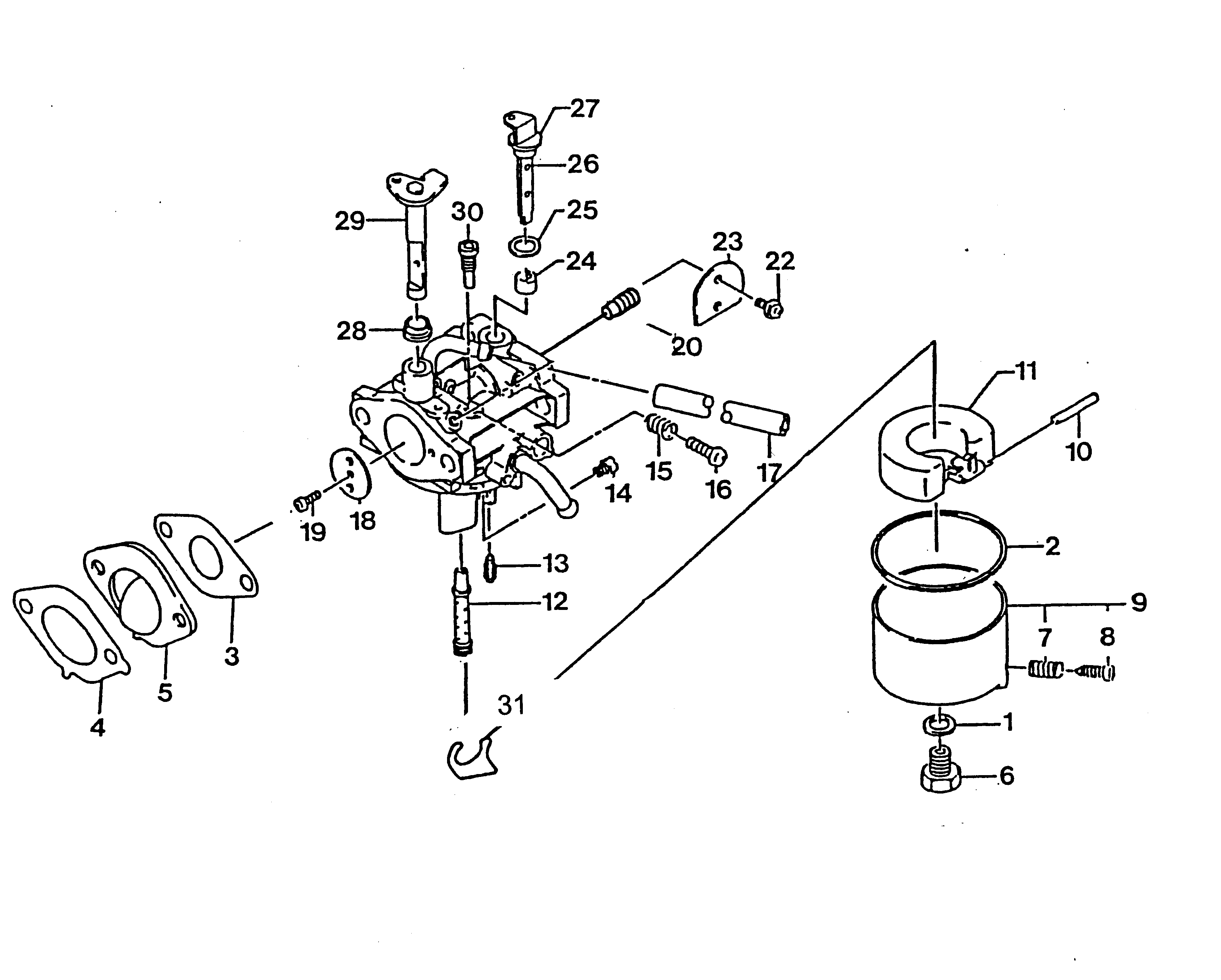
Pos.
Bezeichnung
Ersatzteilnummer
1
Dichtung
2096 501
2
Dichtung
2096 502
3
Dichtung
2095 450
4
Dichtung
2095 451
5
Isolator
2090 242
6
Schraube
2096 557
7
Feder
2096 574
8
Ablaßschraube
2096 559
9
Schwimmer kpl.
2096 528
10
Stift
2096 570
11
Schwimmer
2090 465
12
Düsenrohr
2096 552
13
Nadelventil
2095 452
14
Hauptdüse
2090 462
15
Feder
2096 574
16
Schraube
2090 461
17
Schlauch
2096 581
18
Drosselklappe
2096 529
19
Schraube
2096 560
20
Lufteinstelldüse, 0,9
2096 530
22
Schraube
2090 452
23
Schokerklappe
2096 532
24
Ring
2096 565
25
Dichtring
2096 577
26
Chokewelle
2095 455
27
Ring
2096 566
28
Hülse
2090 460
29
Drosselklappenwelle
2090 457
30
Leerlaufdüse, 45
2096 572
31
Schnappring
2096 567
***
Vergaser kpl.
2096 527
Gebrauchsanweisungen
Wolf
Handgeräte
Heckenscheren
Universalscheren
Handgrasscheren
Astscheren
Baumscheren
Baumpflege
Beleuchtungssysteme
Accuscheren
Häcksler
Sägen
Trimmer
Spindelmäher
Streuwagen / Portax
Schlauchwagen
Vertikutierer / Lüfter / Aerifizierer
Mäher
Aufsitzmäher
Benzinmotoren
Tecumseh
Briggs & Stratton
Honda
Kawasaki
FA / FC
FA 76 ( 1996 / 2055000-B - D )
FA 76 ( 1996 / 2055000-E )
FA 76 ( 1996 / 2055000-F, G )
FC 150 V ( 1996 / 2090065- )
FC 150 V ( 1999 / 2096055- )
FC 180 V ( 1999 / 2096080- )
FA 76 ( 2003 / 2055000- )
FC 150 V ( 2003 / 2090065- )
Kurbelgehäuse, Ölwanne (2090065-2003-1)
Kurbelwelle, Kolben, Pleuel, Ventile (2090065-2003-2)
Vergaser (2090065-2003-3)
Polrad, Zündspule, Regelung (2090065-2003-4)
Tank (2090065-2003-5)
Abdeckung, Luftfilter, Schalldämpfer (2090065-2003-6)
Starter, Bremse (2090065-2003-7)
FJ
Zubehör
Impressum
(C) by motoruf