Zurück zu
>
Mäher
>
Benzin
>
Schiebe ab 43 cm
>
Concept
>
Concept 43 K "KIR" ( 2003 / 6666017-A )
>
FC 150 V ( 2003 / 2090065- )
>
Polrad, Zündspule, Regelung (2090065-2003-4)
Ersatzteillisten für Wolf Mäher Polrad, Zündspule, Regelung (2090065-2003-4)
Ersatzteilliste 1
Ersatzteilliste 2
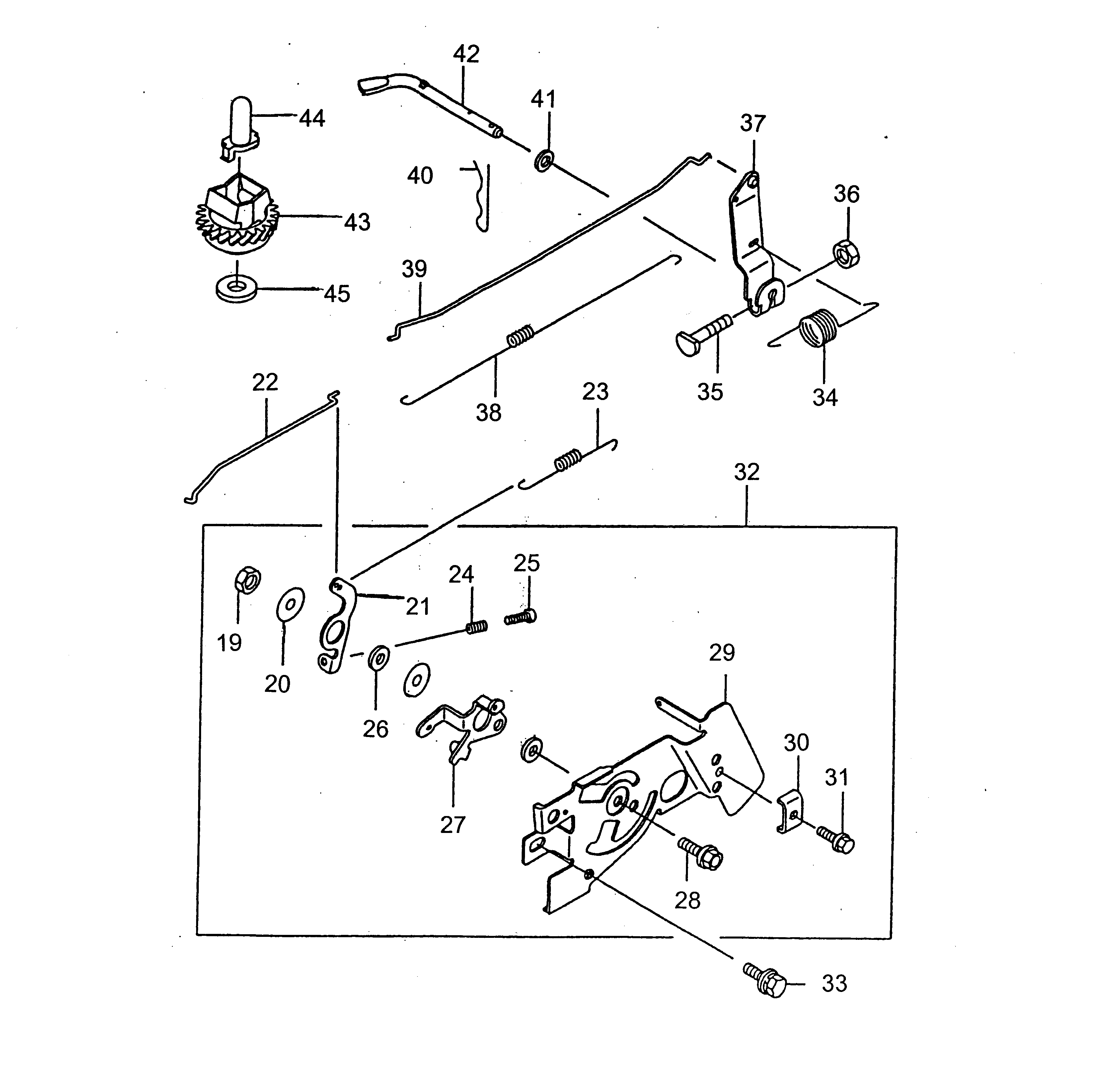
Pos.
Bezeichnung
Ersatzteilnummer
1
Schwungrad
2096 538
2
Schwungradkeil
2090 301
3
Scheibe
2096 159
4
Mutter
2090 303
5
Zündspule
2096 537
6
Kerzenstecker
2090 305
7
Zündkerze
2095 306
8
Schraube
2090 224
9
Klammer
2095 307
10
Schraube
2096 506
11
Schutzkappe
2090 237
12
Platte
2096 524
13
Isolierung
2090 241
14
Scheibe
2090 313
15
Mutter
2090 314
16
Kurzschlußkabel
2096 540
17
Kurzschlußkabel
2090 246
46
Isolierung
2090 243
47
Schutzkappe
2090 238
48
Scheibe
2096 160
49
Mutter
2090 247
Pos.
Bezeichnung
Ersatzteilnummer
19
Mutter
2096 561
20
Klemme
2090 329
21
Hebel
2090 319
22
Gelenk
2090 320
23
Feder
2090 249
24
Feder
2090 254
25
Schraube
2090 324
26
Muffe
2090 325
27
Hebel
2090 326
28
Schraube
2090 327
29
Steuerplatte
2096 556
30
Klemme
2090 329
31
Schraube
2090 330
32
Steuereinheit kpl.
2090 053
33
Schraube
2090 331
34
Feder
2095 323
35
Schraube
2090 333
36
Mutter
2090 334
37
Hebel kpl.
2090 054
38
Gelenkfeder
2090 335
39
Gelenk
2090 336
40
Klemmstift
2090 337
41
Scheibe
2095 338
42
Hebelarm
2095 339
43
Regler
2096 549
44
Buchse
2090340
45
Scheibe
2090341
Gebrauchsanweisungen
Wolf
Handgeräte
Heckenscheren
Universalscheren
Handgrasscheren
Astscheren
Baumscheren
Baumpflege
Beleuchtungssysteme
Accuscheren
Häcksler
Sägen
Trimmer
Spindelmäher
Streuwagen / Portax
Schlauchwagen
Vertikutierer / Lüfter / Aerifizierer
Mäher
Accu
Benzin
Schiebe bis 42 cm
Schiebe ab 43 cm
2er
4er
6er
Concept
Concept 43 B ( 1999 / 4345000-A )
Concept 43 B ( 1999 / 4346000-A )
Concept 43 B ( 1999 / 4348000-A )
Concept 47 B ( 1999 / 6430000-A )
Concept 43 B ( 2000 / 4342000-A )
Concept 43 B PP ( 2003 / 4342000-B, C, D )
Concept 43 B ( 2000 / 4349000-A )
Concept 43 K "KIR" ( 2003 / 6666017-A )
Datenblatt (6666017a-2003-1)
Chassis (6666017a-2003-2)
Achse, Räder, Höhenverstellung (6666017a-2003-3)
Motor, Gestell, Messer (6666017a-2003-4)
Griff kpl. (6666017a-2003-5)
Fangsack Concept ( 2005 / 6450072- )
FC 150 V ( 2003 / 2090065- )
Kurbelgehäuse, Ölwanne (2090065-2003-1)
Kurbelwelle, Kolben, Pleuel, Ventile (2090065-2003-2)
Vergaser (2090065-2003-3)
Polrad, Zündspule, Regelung (2090065-2003-4)
Tank (2090065-2003-5)
Abdeckung, Luftfilter, Schalldämpfer (2090065-2003-6)
Starter, Bremse (2090065-2003-7)
Premio
Esprit
Sonstige
Antrieb bis 42 cm
Antrieb ab 43 cm
Elektrostart / Touch&Mow
Elektro
Aufsitzmäher
Benzinmotoren
Zubehör
Impressum
(C) by motoruf