Zurück zu
>
Mäher
>
Benzin
>
Elektrostart / Touch&Mow
>
2er
>
2.46 TM ( 2003 / 4604004-A )
>
Motor, Messer (4604004a-2003-5)
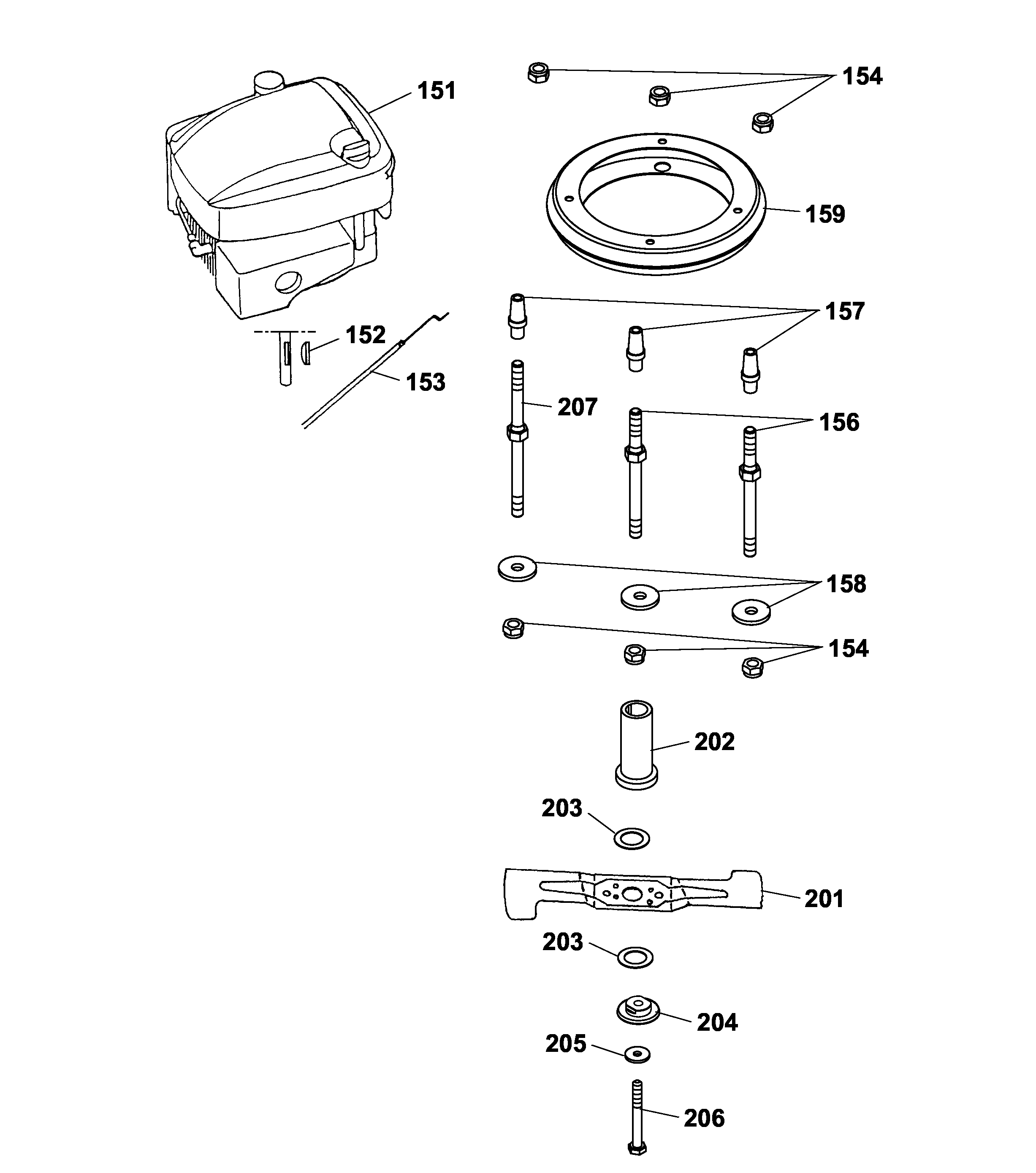
Ersatzteillisten für Wolf Mäher Motor, Messer (4604004a-2003-5)
Pos.
Bezeichnung
Ersatzteilnummer
151
Motor
2075 000
152
Scheibenfeder
0029 131
153
Bowdenzug, Bremse
4004 054
154
6kt.-Mutter
0016 312
156
Stehbolzen, kurz
4004 170
157
Distanzhülse
4004 172
158
Scheibe
0017 111
159
Zwischenring
6340 022
201
Messer
4601 095
202
Kupplungsbuchse
4004 402
203
Vulkanfiberscheibe
4005 403
204
Kupplungsscheibe
4004 401
205
Spannscheibe
0017 105
206
6kt.-Schraube
0010 264
207
Stehbolzen lang
4004 171
Gebrauchsanweisungen
Wolf
Handgeräte
Heckenscheren
Universalscheren
Handgrasscheren
Astscheren
Baumscheren
Baumpflege
Beleuchtungssysteme
Accuscheren
Häcksler
Sägen
Trimmer
Spindelmäher
Streuwagen / Portax
Schlauchwagen
Vertikutierer / Lüfter / Aerifizierer
Mäher
Accu
Benzin
Schiebe bis 42 cm
Schiebe ab 43 cm
Antrieb bis 42 cm
Antrieb ab 43 cm
Elektrostart / Touch&Mow
2er
2.46 TM ( 2004 / 4604004-B )
2.46 TM ( 2003 / 4604004-A )
Datenblatt (4604004a-2003-1)
Chassis (4604004a-2003-2)
Achse, Räder, Höhenverstellung (4604004a-2003-3)
Griff kpl. (4604004a-2003-4)
Motor, Messer (4604004a-2003-5)
Fangkorb Esprit ( 2005 / 4961065- )
45 XM ( 2003 / 2075000-45- )
4er
6er
Concept
Premio
Power Edition
Esprit
Elektro
Aufsitzmäher
Benzinmotoren
Zubehör
Impressum
(C) by motoruf