Zurück zu
>
Mäher
>
Accu
>
Schiebe
>
Picco
>
Picco 32 Accu ( 2004 / 4911000-A )
>
Chassis, Fangkorb (4911000a-2004-2)
Ersatzteillisten für Wolf Mäher Chassis, Fangkorb (4911000a-2004-2)
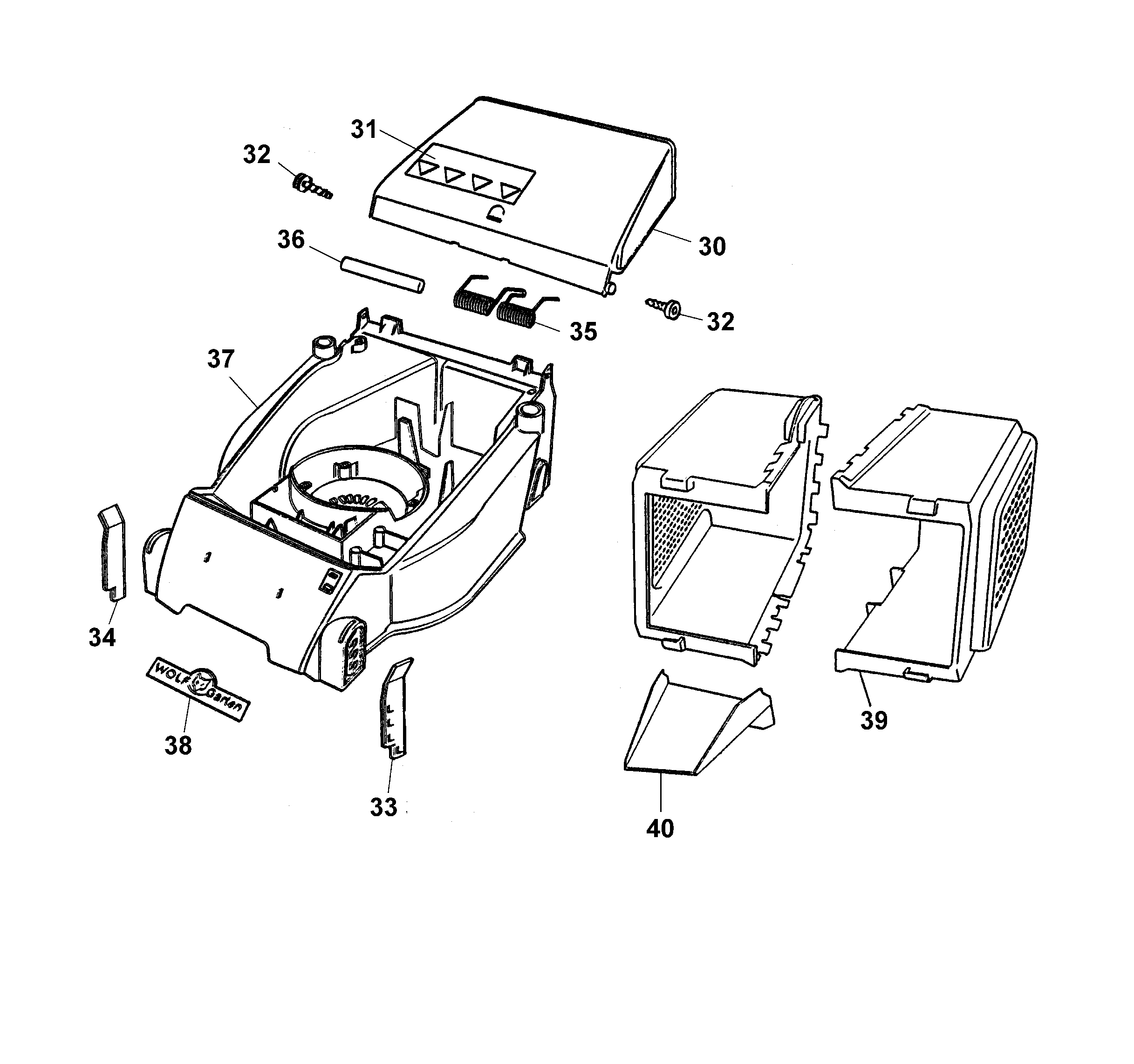
Pos.
Bezeichnung
Ersatzteilnummer
30
Schutzklappe gelb
4901 302
31
Sicherheitsetikett, Pictogramm
0051 248
32
Schraube
0012 622
33
Riegel links
4901 309
34
Riegel rechts
4901 308
35
Doppel-Schenkelfeder
4901 100
36
Rundstab
4932 208
37
Chassis
4901 300
38
WOLF-Garten Marke
0051 115
39
Fangkorbhälfte*
4901 303
40
Schütte
4901 307
Gebrauchsanweisungen
Wolf
Handgeräte
Heckenscheren
Universalscheren
Handgrasscheren
Astscheren
Baumscheren
Baumpflege
Beleuchtungssysteme
Accuscheren
Häcksler
Sägen
Trimmer
Spindelmäher
Streuwagen / Portax
Schlauchwagen
Vertikutierer / Lüfter / Aerifizierer
Mäher
Accu
Schiebe
2er
6er
Picco
Picco 32 Accu ( 1997 / 4911000-A )
Picco 32 Accu ( 1997 / 4911001-A )
Picco 32 Accu ( 1997 / 4911002-A )
Picco 32 Accu ( 1998 / 4911000-A, B )
Picco 32 Accu ( 1999 / 4911000-C )
Picco 32 Accu ( 1999 / 4911007-C )
Picco 32 Accu ( 2003 / 4911000-D, E, F )
Picco 32 Accu ( 2004 / 4911000-A )
Datenblatt (4911000a-2004-1)
Chassis, Fangkorb (4911000a-2004-2)
Achse, Räder, Höhenverstellung (4911000a-2004-3)
Griff, Schalter, Akku (4911000a-2004-4)
Abdeckhaube, Motor, Messer (4911000a-2004-5)
Picco 32 Accu ( 2005 / 4911000-G, H )
Esprit
Premio
Concept
Antrieb
Benzin
Elektro
Aufsitzmäher
Benzinmotoren
Zubehör
Impressum
(C) by motoruf