Zurück zu
>
Roth / TORO
>
Aufsitzmäher
>
Mähwerke
>
107cm Seit
>
318/78231
>
7900001
>
Stützrad & Rolle
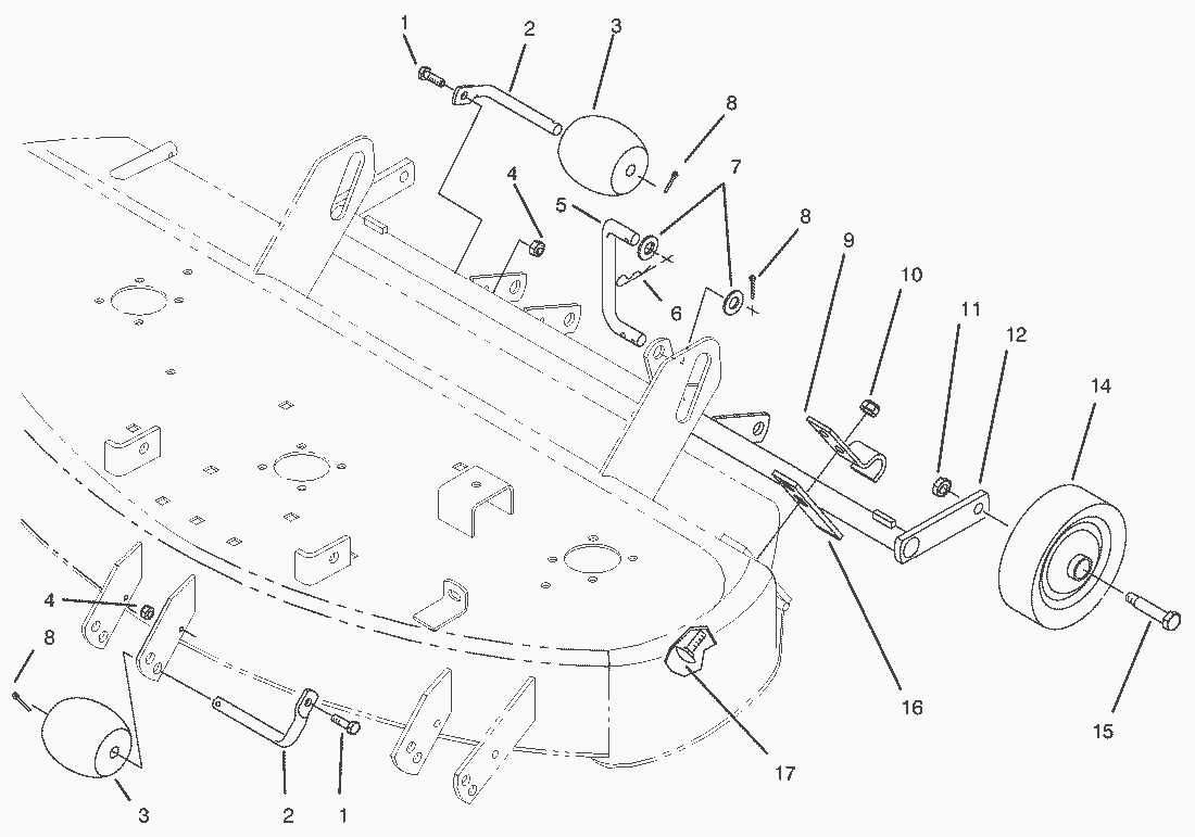
Ersatzteillisten für Toro Roth / TORO Stützrad & Rolle
Pos.
Bezeichnung
Ersatzteilnummer
1
Schraube
321-4
2
Rollenachse
118960
3
Rolle
29-4820
4
MUTTER
3296-42
5
U-Buegel
78-6681
6
Cotter-Hair Pin
933506
7
Scheibe
3256-26
8
Splint
3272-21
9
Clamp
110837
10
Mutter
3296-39
11
Hex Locknut
32146-2
12
Support-Gage Wheel
79-4140-03
14
Rad
110506
15
Bolzen (5)
5188
16
Bar
110838
17
Schraube
3231-4
Gebrauchsanweisungen
Toro
Roth / TORO
Aufsitzmäher
Traktor
Rider
Mähwerke
91cm Heck
97cm Seit
107cm Seit
318/78230
318/78231
4900001
5900001
6900001
7900001
Gehäuse
Spindel
Riemenscheiben & Spannrollenhalter
Stützrad & Rolle
8900001
9900001
200000001
210000001
318/78232
112cm Seit
122cm Seit
132cm Seit
152cm Seit
Zubehör
Handgeräte
Robin
Impressum
(C) by motoruf