Zurück zu
motoruf
Warenkorb

Ersatzteillisten für Toro Roth / TORO Gestänge




Ersatzteilliste


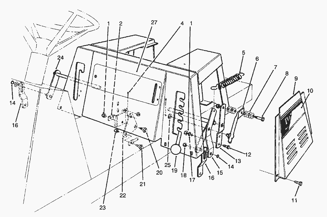
Pos.BezeichnungErsatzteilnummer
1MUTTER3296-29
2Bracket-Bell Crank Mount80-2310
4Splint3272-6
5Spring-Extension62-3930
6Lever-Height-of-Cut47-1850
7Wellenscheibe3290-413
8Bolzen28-0540
9Panel L.H.-Base, Seat92-0878
10Namensschild93-1194
11Schraube321-4
12Schraube322-5
13Bracket-Height-of-Cut47-1840
14Sicherungsring32151-61
15Hebel80-2321
16Link-Suspension, Deck63-5830
17Scheibe3256-23
18MUTTER3296-42
19Knopf233-48
20Screw-Shoulder19-1470
21Bolt-Shoulder65-5670
22Schaltplatte80-2360
23Stopmutter3296-8
24Arm-Lever, H.O.C.56-7400
25Scheibe3256-26
27Klebeschild92-7982
Gebrauchsanweisungen
Toro
Impressum
(C) by motoruf