Zurück zu
>
Roth / TORO
>
Handgeräte
>
Rasenmäher
>
2-Takt Radantrieb
>
237/22044 BC
>
5900001
>
Antrieb Betätigung
Ersatzteillisten für Toro Roth / TORO Antrieb Betätigung
Pos.
Bezeichnung
Ersatzteilnummer
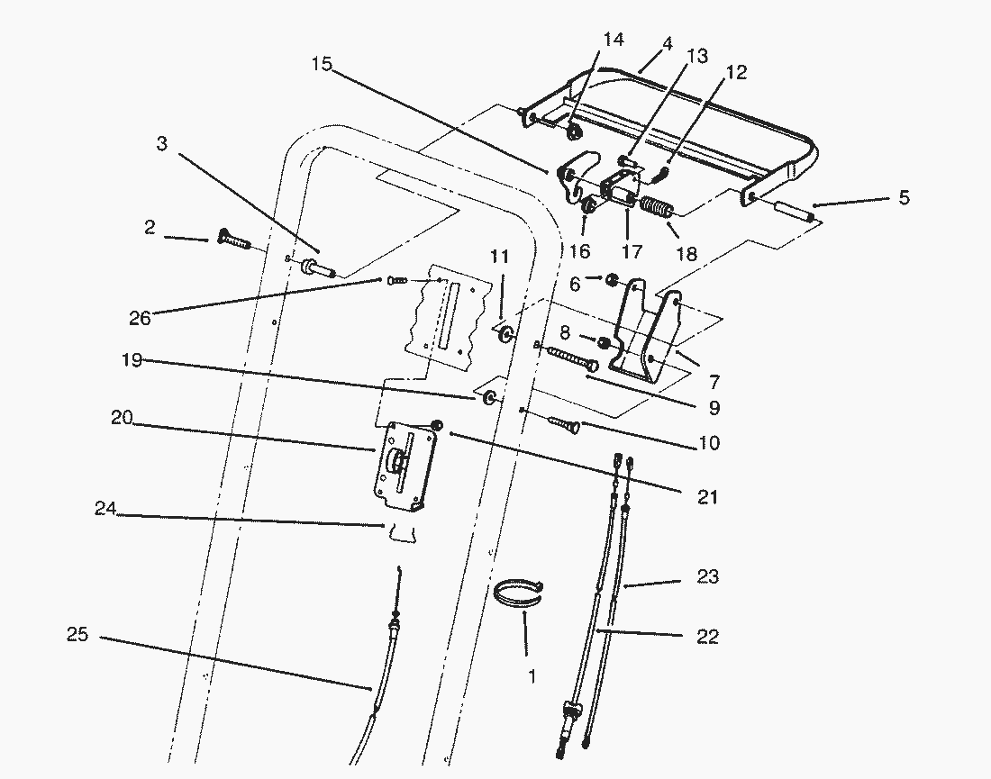
1
Tie Wrap
3290-378
2
Schraube
17-9427
3
Buechse
49-1631
4
Bar-Control
84-8940
5
Distanzbuechse
84-9030
6
MUTTER
3296-29
7
Bracket-Control
92-1778
8
MUTTER
3296-42
9
Schraube
322-19
10
SCHRAUBE
46-6430
11
Spacer
71-9310
12
Splint
3272-1
13
Bolzen
84-9040
14
Mutter
3296-58
15
Schaltnocken
84-9000
16
Buechse
86-9320
17
Bremshebel
84-8990
18
Druckfeder
85-6750
19
Spacer
71-9320
20
Gashebel
85-6770
21
Mutter
3296-2
22
Getriebezug
84-9120
23
Kupplungszug
84-9110
24
Halterung
85-6780
25
Gaszug
85-6760
26
Schraube
3250-14
Gebrauchsanweisungen
Toro
Roth / TORO
Aufsitzmäher
Handgeräte
Kehrmaschinen
Schneefräsen
Sauger/Bläser
Rasenmäher
Grasfangvorrichtungen
4-Takt Radantrieb
4-Takt
2-Takt Radantrieb
295/26643
295/26643 B
295/26640 BC
295/26640 B
287/20916B
277
255/22700 BC
255/22700
239
237/22045
237/22045 B
237/22044 BC
5900001
Vergaser (Modell-Nr. 47PR4-7)
Starter (Modell-Nr. 47PR4-7)
Regler (Modell-Nr. 47PR4-7)
Zündung (Modell-Nr. 47PR4-7)
Auspuff (Modell-Nr. 47PR4-7)
Kurbelwelle (Modell-Nr. 47PR4-7)
Fangkorb Nr. 11-5609
Kraftstofftank
Antrieb Betätigung
Holm
Getriebegehäuse (Fortsetzung)
Getriebegehäuse
Messerbremse Kupplung
Motor
Gehäuse (Fortsetzung)
Gehäuse
237/22036
237/22035
234
224
222/16212 WG
2-Takt
Elektro
Akku
Robin
Impressum
(C) by motoruf