Zurück zu
motoruf
Warenkorb

Ersatzteillisten für AS Motor Samix Gartenhäcksler Grundmotor




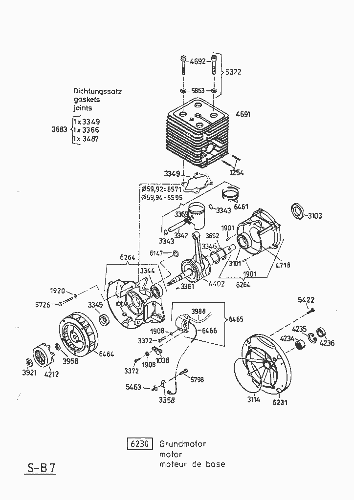
Ersatzteilliste


Pos.BezeichnungErsatzteilnummer
E01038KABELHALTER E01038
1254STIFTSCHRAUBE E01254
1901ZYLINDERSTIFT E01901
1908FEDERRING E01908
1920FEDERSCHEIBE E01920
3101RILLENKUGELLAGERE03101
3103WELLENDICHTRINGE03103
3114RUNDSCHNURRINGE03114
3342KOLBENBOLZENE03342
3343SICHERUNGSRING E03343
3344RILLENKUGELLAGERE03344
3345WELLENDICHTRINGE03345
3346PASSSCHEIBE E03346
3349ZYLINDERFFUßDICHTUNG E03349
3358FLACHSTECKER E03358
3361SCHEIBENFEDER E03361
3366AUSPUFFDICHTUNGE03366
3369NADELKÄFIGE03369
3372ZYLINDERSCHRAUBE E03372
3487ISOLIERPLATTEE03487
3683DICHTUNGSSATZ 6 PS MOTORE03683
3692PAßSCHEIBEN ()E03692
3921SECHSKANTMUTTER E03921
3958TELLERFEDER E03958
3988ZÜNDLEITUNGE03988
4212MITNEHMERE04212
4234NADELLAGERE04234
4235SICHERUNGSRING E04235
4236RADIALWELLENDICHTRINGE04236
4402KURBELWELLE VOLLST.E04402
4691ZYLINDER D. 60.00E04691
4692ZYL.SCHR. M.INNENSECHSKANTE04692
4718LOCTITE 572 (5OML)E04718
5322BEFESTIGUNGST.F.ZYLIN.(6-PS)E05322
5422GEW.FURCH.SECHSK.SCHRAUBE E05422
5463ISOLIERSTÜCK E05463
5726ERSETZT DURCH 3744E05726
5798ZYLINDERBLECHSCHRAUBE E05798
5863SPERRKANTSCHEIBE E05863
6147KAROSSERIESTOPFEN E06147
6230GRUNDMOTOR S-B7+S-B7/2E06230
6231FLANSCH S-B7 M.LAGER+DICHTRINGE06231
6264KURBELGEHÄ.M.LAGER UND ZAPFENE06264
6461HALB-TR.RI.+RECHTECKRI.(59.92E06461
6464LÜFTERRAD M.DECKBLECH VOLLST.E06464
6465ZÜNDANKERE06465
6466KURZSCHLIEßKABELE06466
6571KOLBEN D.59.92 M.NADELK+HTRINGE06571
6595KOLBEN D.59.94 M.NADELK+HTRINGE06595
Gebrauchsanweisungen
AS Motor
Impressum
(C) by motoruf